GM Service Manual Online
For 1990-2009 cars only
Makes
🢒
Oldsmobile
🢒
2001
🢒
Intrigue
🢒
Body and Accessories
🢒
Body Control System
🢒 Body Control System Schematics
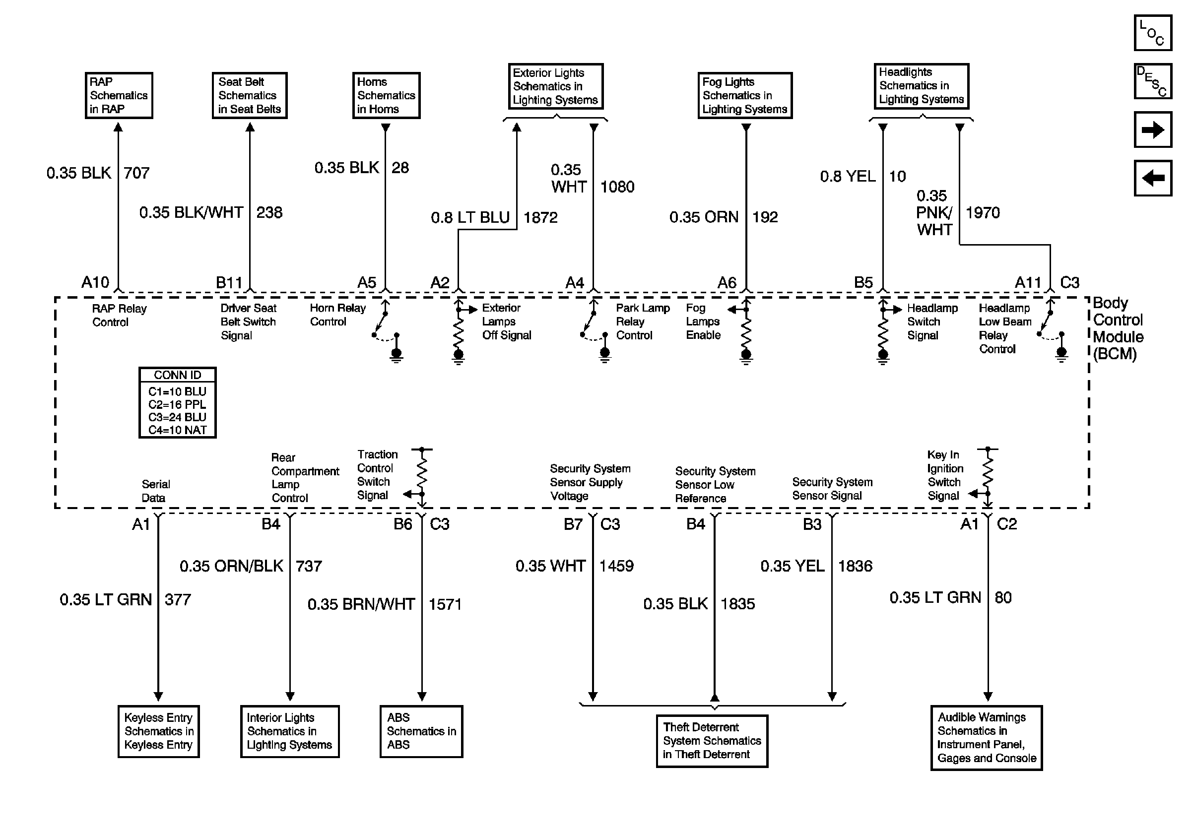
Figure
1:
Power, Grounds and DLC
Master Electrical Component List original
Body Control System Description and Operation
References (1 of 2)
BTSI, Turn Signals/CORN LPS, Air Bag, Cluster, PCM/BCM/Crank/IGN Fuses
BTSI, Turn Signals/CORN LPS, Air Bag, Cluster, PCM/BCM/Crank/IGN Fuses
IGN 2, IGN 0/Cluster/PCM/BCM, Crank/Signal/BCM/Cluster Fuses
IGN 2, IGN 0/Cluster/PCM/BCM, Crank/Signal/BCM/Cluster Fuses
HIGH BLOWER, HAZARD, STOP LAMPS, DOOR LOCKS, POWER MIRRORS Fuses
INADV POWER BUS/RAP, BCM, RADIO/HVAC/RFA/CLUSTER/DATA LINK, CIGAR LTR/AUXPOWER/POWER DROP Fuses and RAP Relay
Ground G201
Ground G203
Figure
2:
References (1 of 2)
Master Electrical Component List original
Body Control System Description and Operation
References (2 of 2)
Power, Grounds and DLC
Figure
3:
References (2 of 2)
Master Electrical Component List original
Body Control System Description and Operation
References (1 of 2)