GM Service Manual Online
For 1990-2009 cars only
Figure 1:

Cell 81: Fuel Gauge, Engine Coolant Temperature Gauge


Object Number: 323647  Size: FS
Instrument Cluster Components
Instrument Cluster Circuit Description
Cell 81: Inflatable Restraint Sensing and SDM
Cell 10: Ignition Switch, Transaxle Range Switch
Cell 11: IGN 1 Fuse
Cell 81: Inflatable Restraint Sensing and SDM
Cell 81: Inflatable Restraint Sensing and SDM
Vehicle Speed Sensor
Fuel Control
Handling ESD Sensitive Parts Notice
Figure 2:

Cell 81: Inflatable Restraint Sensing and SDM


Object Number: 323650  Size: FS
Instrument Cluster Components
Instrument Cluster Circuit Description
Cell 81: Malfunction Indicator Lamp TC Module
Cell 81: Fuel Gauge, Engine Coolant Temperature Gauge
Cell 81: Fuel Gauge, Engine Coolant Temperature Gauge
Cell 81: Fuel Gauge, Engine Coolant Temperature Gauge
Cell 81: Malfunction Indicator Lamp TC Module
Handling ESD Sensitive Parts Notice
Handling ESD Sensitive Parts Notice
Handling ESD Sensitive Parts Notice
Handling ESD Sensitive Parts Notice
Handling ESD Sensitive Parts Notice
SIR Handling Caution
Cell 14: G100, G111 and G113
Cell 14: G200 and G201
ABS/TCS Schematics ( ABS Module, DLC, Ground, Instrument Cluster, PCM, Power, Stop Lamp Switch)
SIR Schematics
Cell 14: G100, G111 and G113
ABS/TCS Schematics ( ABS Module, DLC, Ground, Instrument Cluster, PCM, Power, Stop Lamp Switch)
ABS/TCS Schematics ( ABS Module, DLC, Ground, Instrument Cluster, PCM, Power, Stop Lamp Switch)
Cell 14: G200
Figure 3:

Cell 81: Malfunction Indicator Lamp TC Module


Object Number: 323652  Size: FS
Instrument Cluster Components
Instrument Cluster Circuit Description
Cell 81: Headlamp and IP Lamp Dimmer Switch
Cell 81: Inflatable Restraint Sensing and SDM
Handling ESD Sensitive Parts Notice
Handling ESD Sensitive Parts Notice
Cell 14: G100, G111 and G113
Cell 14: G200
Figure 4:

Cell 81: Headlamp and IP Lamp Dimmer Switch


Object Number: 323656  Size: FS
Instrument Cluster Components
Instrument Cluster Circuit Description
Cell 81: Transaxle Range Switch
Cell 81: Malfunction Indicator Lamp TC Module
Handling ESD Sensitive Parts Notice
Handling ESD Sensitive Parts Notice
Cell 110: Taillamps, Side Markers, Park/Turn Lamps
Cell 110: Taillamps, Side Markers, Park/Turn Lamps
Cell 100: Headlamps
Cell 117: Heater-A/C Control, Radio Control Switches and InstrumeNt Cluster
Cell 81: Transaxle Range Switch
Cell 14: G200
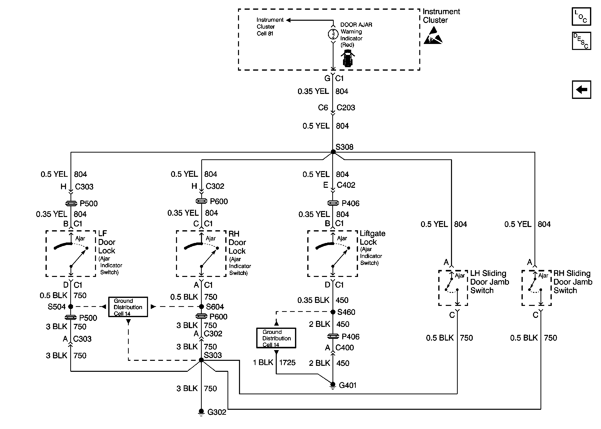
Figure 5:

Cell 81: Transaxle Range Switch


Object Number: 323658  Size: FS
Instrument Cluster Components
Instrument Cluster Circuit Description
Cell 81: Sliding Door Jamb Switches, Liftgate Lock, Door Locks
Cell 81: Headlamp and IP Lamp Dimmer Switch
Cell 117: Headlamp and IP Lamp Dimmer Switch, Driver Information Display
Handling ESD Sensitive Parts Notice
Handling ESD Sensitive Parts Notice
Handling ESD Sensitive Parts Notice
Cell 14: G100, G111 and G113
Figure 6:

Cell 81: Sliding Door Jamb Switches, Liftgate Lock, Door Locks


Object Number: 323661  Size: FS
Instrument Cluster Components
Instrument Cluster Circuit Description
Cell 81: Transaxle Range Switch
Handling ESD Sensitive Parts Notice
Cell 14: G302
Cell 14: G401