GM Service Manual Online
For 1990-2009 cars only

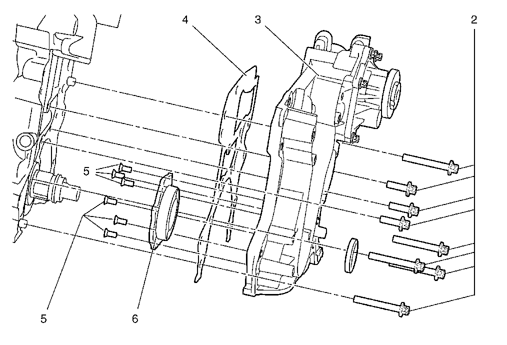
Object Number: 2020183  Size: MF

Callout

Component Name

Preliminary Procedures

  1. Remove the generator, Refer to Generator Replacement.
  2. Remove the timing belt tensioner. Refer to Link.
  3. Remove the Timing Belt Idler Pulley. Refer to Link.
  4. Remove the Crankshaft Sprocket. Refer to Link.
  5. Remove the Air Conditioning Compressor. Refer toLink.
  6. Remove the Engine Oil Cooler Outlet Pipe Replacement. Refer to Link.
  7. Remove the Engine Oil Cooler Inlet Pipe, Refer to Link.
  8. Remove the Radiator Outlet Hose. Refer to Radiator Outlet Hose Replacement.
  9. Remove the oil pan. Refer to Oil Pan Replacement.

1

Crankshaft Front Oil Seal

2

Engine Front Cover Fastener (Qty: 8)

Caution: Refer to Fastener Caution in the Preface section.

Tighten
X N·m (X lb ft)

3

Engine Front Cover

4

Engine Front Cover Gasket

5

Oil Pump Fastener (Qty: 6)

Caution: Refer to Fastener Caution in the Preface section.

Tighten
X N·m (X lb ft)

6

Oil Pump