GM Service Manual Online
For 1990-2009 cars only
Makes
🢒
Pontiac
🢒
2005
🢒
Bonneville
🢒
Body
🢒
Instrument Panel, Gages, and Console
🢒 Audible Warnings Schematics
Figure
1:
Radio, Door, and Ignition Switch Audible Warnings
Master Electrical Component List
Audible Warnings Description and Operation
Seat Belt and Headlamp Switch Audible Warnings
Serial Data Class 2
DDM Inputs/Outputs
G201 - 2 of 2
G201 - 2 of 2
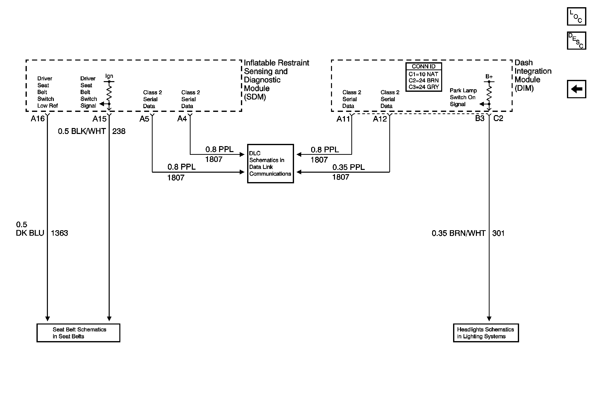
Figure
2:
Seat Belt and Headlamp Switch Audible Warnings
Master Electrical Component List
Audible Warnings Description and Operation
Radio, Door, and Ignition Switch Audible Warnings
Seat Belt Schematic
Serial Data Class 2
Headlamp Controls