GM Service Manual Online
For 1990-2009 cars only
Figure 1:

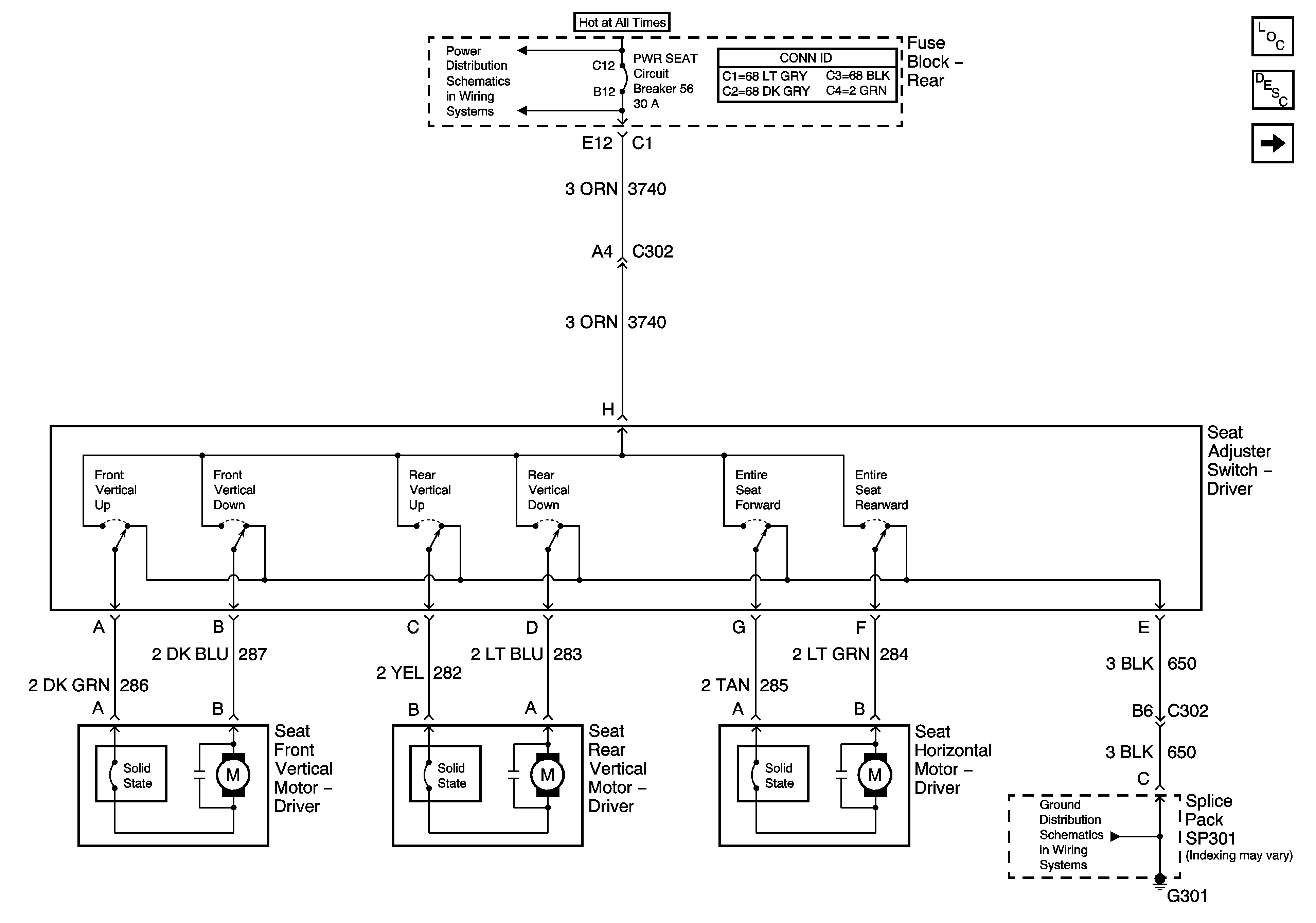
Seat Switch and Motors (w/o A51)


Object Number: 1342630  Size: FS
Master Electrical Component List
Power Seats System Description and Operation
Power Seat Switch and Motors (A51)
PWR WDO and PWR SEAT Circuit Breakers
G301 - 2 of 2
Figure 2:

Seat Switch and Motors (A51)


Object Number: 885829  Size: FS
Master Electrical Component List
Power Seats System Description and Operation
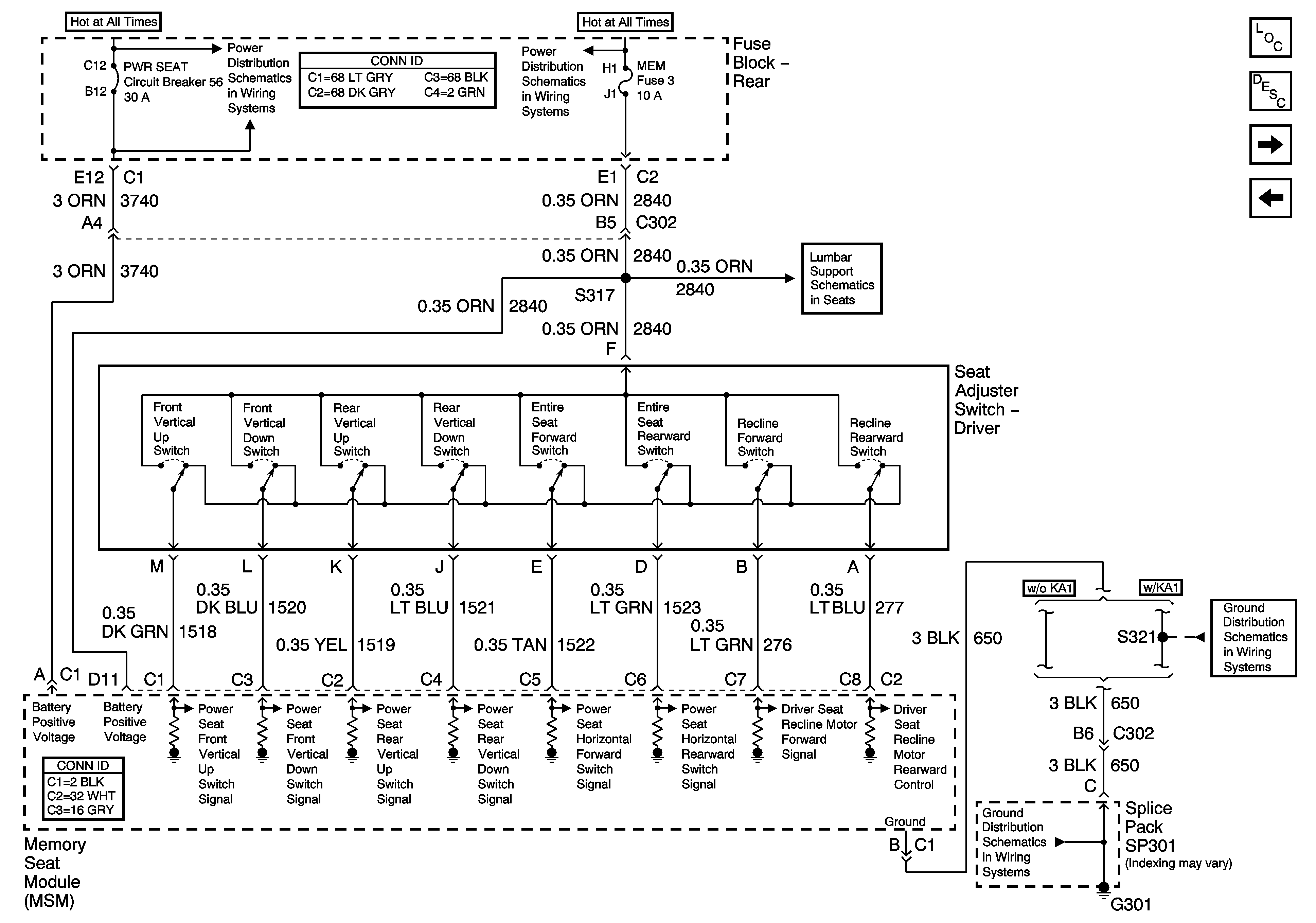
Power, Ground, and the MSM
Power Seat Switch and Motors (w/o A51)
PWR WDO and PWR SEAT Circuit Breakers
PWR WDO and PWR SEAT Circuit Breakers
G301 - 2 of 2
G301 - 2 of 2
Figure 3:

Power, Ground, and the MSM


Object Number: 1342633  Size: FS
Master Electrical Component List
Memory Seats Description and Operation
Memory Function Switch Controls
Power Seat Switch and Motors (A51)
PWR WDO and PWR SEAT Circuit Breakers
HTDST RF, HTDST LF, DIM, and MEM Fuses
Lumbar (A45)
G301 - 2 of 2
G301 - 2 of 2
Figure 4:

Memory Function Switch Controls


Object Number: 766842  Size: FS
Master Electrical Component List
Memory Seats Description and Operation
Memory Seat Vertical and Horizontal Motors and Sensors
Power, Ground, and the MSM
I/P and Console Dimming
Serial Data Class 2
Figure 5:

Memory Seat Vertical and Horizontal Motors and Sensors


Object Number: 793604  Size: FS
Master Electrical Component List
Memory Seats Description and Operation
Memory Seat Recline Motor and Sensor
Memory Function Switch Controls
Memory Seat Recline Motor and Sensor
Figure 6:

Memory Seat Recline Motor and Sensor


Object Number: 1342634  Size: FS
Master Electrical Component List
Memory Seats Description and Operation
Lumbar (w/o A45)
Memory Seat Vertical and Horizontal Motors and Sensors
Memory Seat Vertical and Horizontal Motors and Sensors
Serial Data Class 2
Figure 7:

Lumbar (w/o A45)


Object Number: 1342625  Size: FS
Master Electrical Component List
Lumbar Support Description and Operation w/o A45
Lumbar (A45)
Memory Seat Recline Motor and Sensor
PWR WDO and PWR SEAT Circuit Breakers
PWR WDO and PWR SEAT Circuit Breakers
G301 - 2 of 2
G301 - 2 of 2
Figure 8:

Lumbar (A45)


Object Number: 1372302  Size: FS
Master Electrical Component List
Lumbar Support Description and Operation with A45
Heated Seat Power, Ground, and RIM Controls
Lumbar (w/o A45)
HTDST RF, HTDST LF, DIM, and MEM Fuses
Power, Ground, and the MSM
Memory Seat Recline Motor and Sensor
Memory Seat Recline Motor and Sensor
Figure 9:

Heated Seat Power, Ground, and RIM Controls


Object Number: 1342635  Size: FS
Master Electrical Component List
Heated Seats Description and Operation
Heated Seat Cushion, and Switch
Lumbar (A45)
HTDST RF, HTDST LF, DIM, and MEM Fuses
IGN3 RR and ABS Fuses
IGN3 RR and ABS Fuses
Heated Seat - Power, Ground, and RIM Control
G301 - 2 of 2
G301 - 2 of 2
Figure 10:

Heated Seat Cushion and Switch


Object Number: 1342636  Size: FS
Master Electrical Component List
Heated Seats Description and Operation
Heated Seat - Power, Ground, and Rim Controls
Front Floor Lamps, and Heated Seat Dimming
Heated Seat - Cushion and Switch
G201 - 1 of 2
G201 - 1 of 2