GM Service Manual Online
For 1990-2009 cars only
Makes
🢒
Pontiac
🢒
2005
🢒
Bonneville
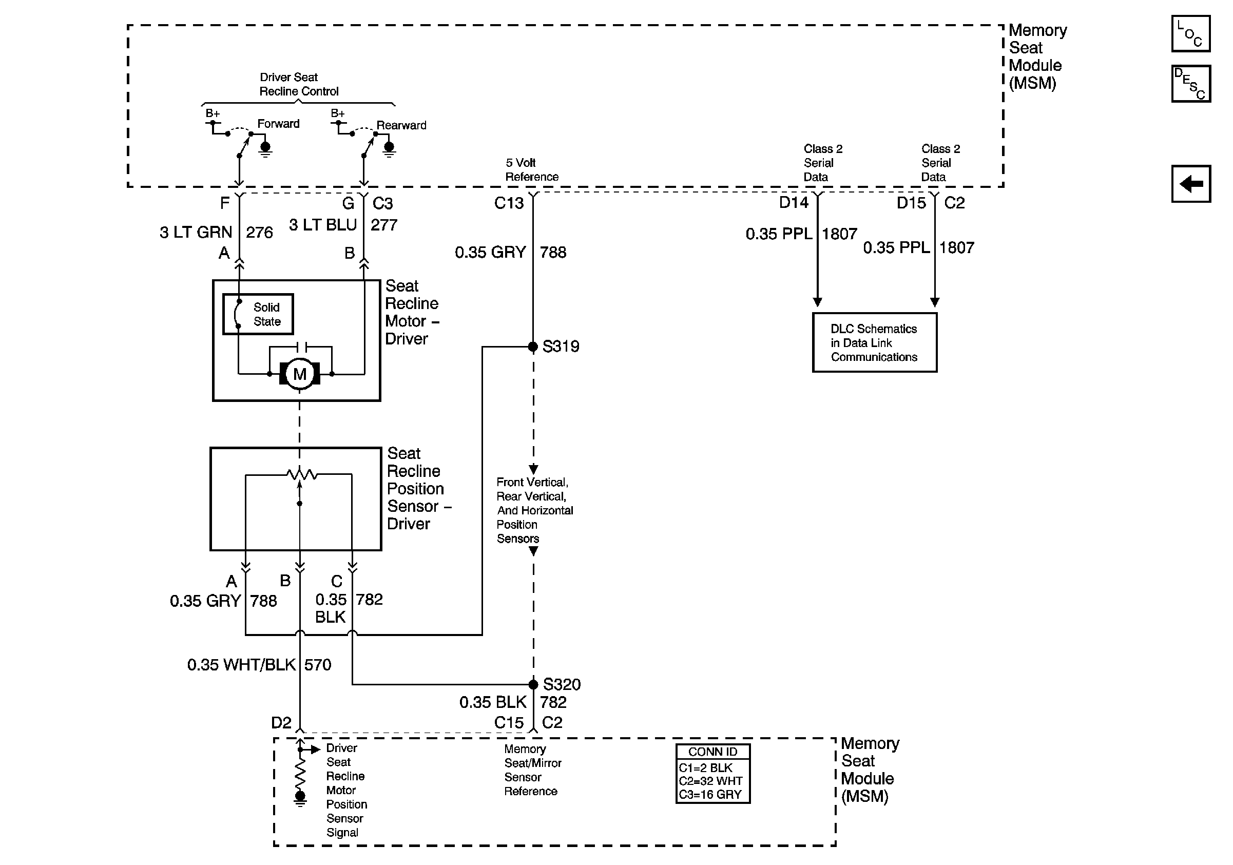
🢒 Recline Motor and Sensor
Recline Motor and Sensor
Recline Motor and Sensor
Master Electrical Component List
Vertical and Horizontal Motors and Sensors
Serial Data Class 2
Vertical and Horizontal Motors and Sensors