GM Service Manual Online
For 1990-2009 cars only
Makes
🢒
Pontiac
🢒
2005
🢒
Bonneville
🢒 w/o A45
w/o A45
w/o A45
Master Electrical Component List
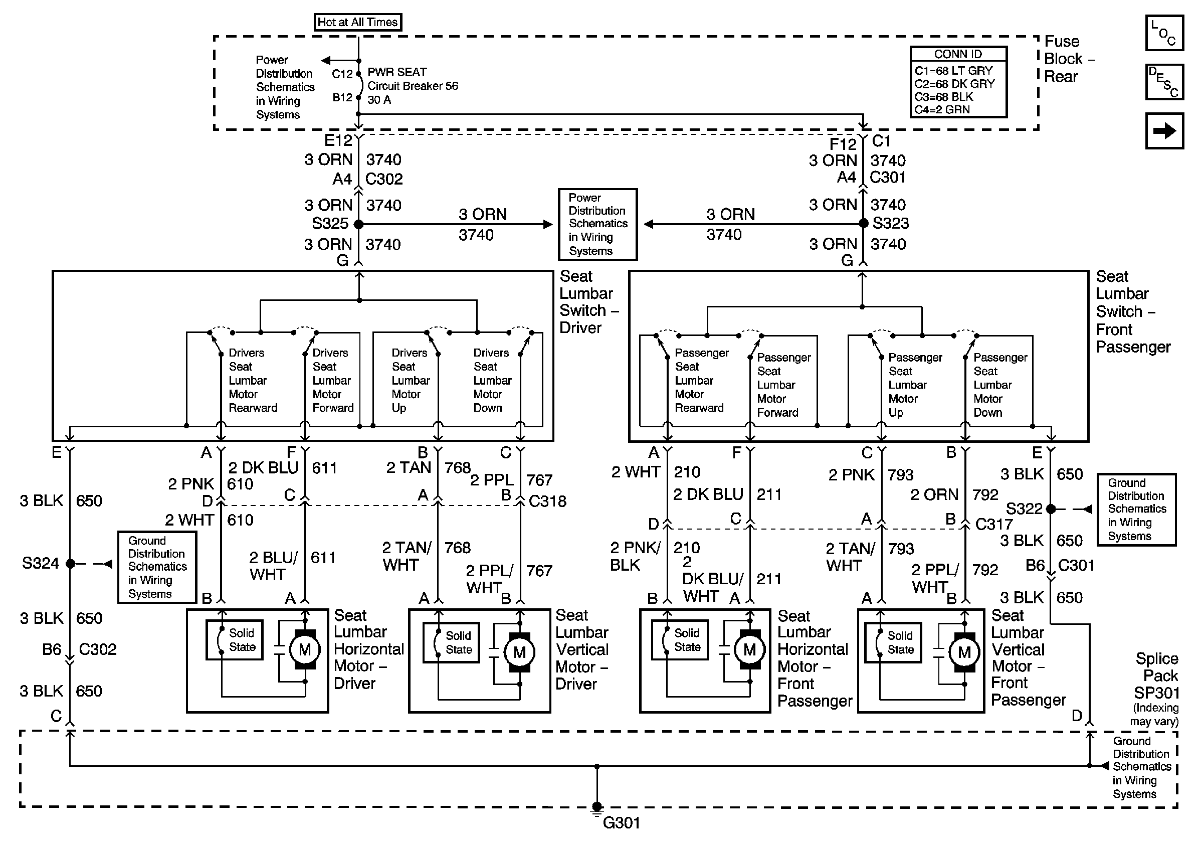
Lumbar Support Description and Operation w/o A45
PWR WDO and PWR SEAT Fuses (Fuse Block Rear)
G301 (2 of 2)
PWR WDO and PWR SEAT Fuses (Fuse Block Rear)
G300 and G301 (1 of 2)
G300 and G301 (1 of 2)
w/A45