GM Service Manual Online
For 1990-2009 cars only

Measurements - Body Body Front End

Below are the body front end fit requirements for Chevrolet and Pontiac, all specifications apply to both vehicles unless otherwise specified.


    Object Number: 392196  Size: MH
  1. Measure the gap between the outside rearview mirror (1) and the front fender (2). (Chevrolet only)
  2. Specification
    Gap specification is 10.7 mm (+/- 3.0 mm), 0.42 in (+/- 0.12 in).


    Object Number: 392200  Size: MH
  3. Measure the gap between the door (1) and the front fender (2). (Chevrolet only)
  4. Specification
    Gap specification is 5.0 mm (+/- 1.5 mm), 0.197 in (+/- 0.06 in).


    Object Number: 392203  Size: MH
  5. Measure the gap between the door (1) and the front fender (2). (Pontiac only)
  6. Specification
    Gap specification is 7.0 mm (+/- 5.0 mm), 0.276 in (+/- 0.197 in).


    Object Number: 392204  Size: MH
  7. Measure the gap specification between the door (1) and the front fender (2). (Pontiac only)
  8. Specification
    Gap specification is 5.0 mm (+/- 1.5 mm), 0.197 in (+/- 0.06 in).


    Object Number: 392207  Size: MH
  9. Measure the gap between the rocker panel (10 and the front fender (2).
  10. Specification
    Gap specification is 2.5 mm (+/- 2.5 mm), 0.098 in (+/- 0.098 in).


    Object Number: 392210  Size: MH
  11. Measure the gap between the front fender (1) and the hood (2).
  12. Specification
    Gap specification is 4.0 mm (+/- 1.5 mm), 0.158 in (+/- 0.06 in).


    Object Number: 392212  Size: MH
  13. Measure the cross-car gap between the hood (1) and the front fenders (2).
  14. Specification
    Gap cross-car side to side specification within 1.5 mm (0.06 in).


    Object Number: 392216  Size: MH
  15. Measure the gap between the hood (1) and the front fascia (2). (Pontiac only)
  16. Specification
    Gap specification is 4.6 mm (+/- 1.5 ), 0.18 in (+/- 0.06 in).


    Object Number: 392217  Size: MH
  17. Measure the gap between the hood (1) and the front fascia (2). (Chevrolet only)
  18. Specification
    Gap specification is 4.0 mm (+/- 1.5 mm), 0.158 in (+/- 0.06 in).


    Object Number: 392219  Size: MH
  19. Measure the gap between the front fender (1) and the front fascia (2).
  20. Specification
    Gap specification is 0.00 mm (+ 0.50 / - 0.00 mm).


    Object Number: 392222  Size: MH
  21. Measure the cross-car side to side gap between the fog lamp (1) and the front fascia (2). (Pontiac only)
  22. Specification
    Gap cross-car side to side specification within 2.0 mm (0.079 in).


    Object Number: 392227  Size: MH
  23. Measure the gap between the fog lamp (1) and the front fascia (2). (Pontiac only)
  24. Specification
    Gap specification is 5.0 mm (+/- 2.0 mm), 0.197 in (+/- 0.79 in).


    Object Number: 392230  Size: MH
  25. There is no gap permissible between the headlamp seal (3) and the front fascia (4). (Chevrolet only)

  26. Object Number: 392231  Size: MH
  27. Measure the gap between the headlamp door (1) and the front fender (2). (Pontiac only)
  28. Specification
    Gap specification is 4.0 mm (+/- 1.5 mm), 0.158 in (+/- 0.06 in).


    Object Number: 392234  Size: MH
  29. Measure the gap between the hood (1) and the headlamp door (2). (Pontiac only)
  30. Specification
    Gap specification is 4.0 mm (+/- 1.5 mm, 0.158 in (+/- 0.06 in).

Measurements - Body Body Rear End

Below are the body rear end fit requirements for Chevrolet and Pontiac, all specifications apply to both vehicles unless otherwise specified.


    Object Number: 392241  Size: MH
  1. Measure the gap between the rear compartment lift window (2) and the quarter panel (3).
  2. Specification
    Gap specification is 5.0 mm (+/- 1.5 mm), 0.197 in (+/- 0.06 in).


    Object Number: 392244  Size: MH
  3. Measure the rear compartment lift window (1) to roof outer sail panel (2).
  4. Specification
    Gap specification is 8.0 mm (+/- 2.0 mm), 0.315 in (+/- 0.79 in).


    Object Number: 392246  Size: MH
  5. Measure the gap between the rear compartment lift window (1) and the roof (2).
  6. Specification
    Gap specification is 8.0 mm (+/- 2.0 mm), 0.315 in (+/- 0.79 in).


    Object Number: 392247  Size: MH
  7. Measure the gap between the roof outer panel (1) and the quarter outer panel (2).
  8. Specification
    Gap specification is 4.0 mm (+/- 1.5 mm, 0.158 in (+/- 0.06 in).


    Object Number: 392248  Size: MH
  9. Measure the gap between the rear compartment lift window panel (1) and the taillight lens (2). (Chevrolet only)
  10. Measure the gap between the taillight lens (2) and the rear end finish panel (3). (Chevrolet only)
  11. Specification

        • Gap specification between the lift window panel (1) and the lens (2) is 10.5 mm (+/- 3.0 mm, 0.413 in (+/- 0.118 in).
        • Gap specification between the lens (2) and the finish panel (3) is 2.0 mm (+/- 2.0 mm), 0.79 in (+/- 0.79 in).

    Object Number: 392250  Size: MH
  12. Measure the gap between the rear compartment lift window panel (1) and the taillight lens (2). (Pontiac only)
  13. Measure the gap between the taillight lens (2) and the rear end finish panel (3). (Pontiac only)
  14. Specification

        • Gap specification between the lift window panel (1) and the lens (2) is 5.0 mm (+/- 3.0 mm), 0.197 in (+/- 0.118 in).
        • Gap specification between the lens (2) and the finish panel (3) is 4.0 mm (+/- 2.0 mm, 0.158 in (+/- 0.79 in).

    Object Number: 392257  Size: MH
  15. Measure the gap between the fuel filler door (1) to the rear quarter panel (4).
  16. Specification
    Gap specification is 3.0 mm (+/- 1.0 mm), 0.118 in (+/- 0.349 in).


    Object Number: 392260  Size: MH
  17. Measure the gap between the taillight lens (1) to the rear end finish panel (2). (Chevrolet only)
  18. Specification
    Gap specification is 2.0 mm (+/- 2.0 mm), 0.79 in (+/- 0.79 in).


    Object Number: 392267  Size: MH
  19. Measure the gap between the taillight lens (1) and the rear end finish panel (2). (Pontiac only)
  20. Specification
    Gap specification is 4.0 mm (+/- 2.0 mm, 0.158 in (+/- 0.79 in).


    Object Number: 392268  Size: MH
  21. Measure the gap between the rear quarter panel (1) and the rear fascia (3).
  22. Specification
    Gap specification is 0.00 mm (+ 0.50 / -0.00 mm).


    Object Number: 392271  Size: MH
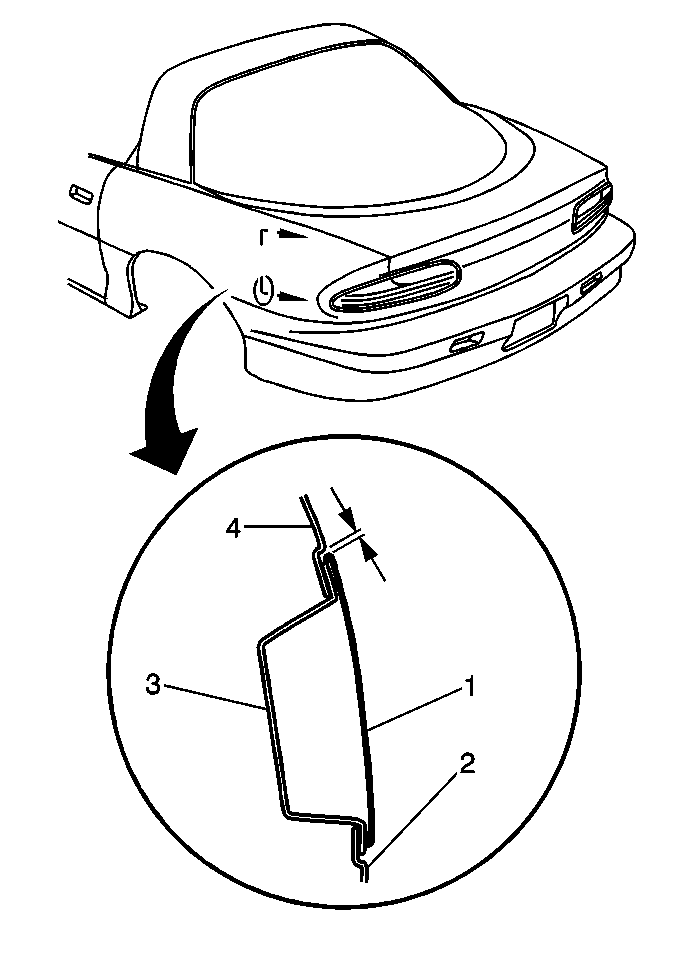
  23. Measure the gap between the rear quarter panel (1) and the taillight lens (3).
  24. Specification
    Gap specification is 2.0 mm (+/- 1.5 mm), 0.079 in (+/- 0.06 in).


    Object Number: 392273  Size: MH
  25. Measure the gap between the rear compartment deck lid (1) and the rear end finish panel (2). (Chevrolet only)
  26. Measure the gap between the rear end finish panel (2) and the rear bumper fascia (3). (Chevrolet only)
  27. Specification

        • Gap specification between the deck lid (1) and the finish panel (2) is 8.5 mm (+/- 3.0 mm), 0.335 in (+/- 0.118 in).
        • Gap specification between the finish panel (2) and the rear bumper fascia (3) is 6.0 mm (+/- 2.0 mm), 0.236 in (+/- 0.79 in).

    Object Number: 392277  Size: MH
  28. Measure the gap between the deck lid spoiler (1) and the rear end filler (3). (Pontiac only)
  29. Measure the gap between the rear end filler (3) and the rear bumper fascia (5). (Pontiac only)
  30. Specification

        • Gap specification between the deck lid spoiler (1) and the rear end filler (3) is 5.0 mm (+/- 3.0 mm), 0.197 in (+/- 0.118 in).
        • Gap specification between the rear end filler (3) and the rear bumper fascia (5) is 4.0 mm (+/- 2.0 mm), 0.158 in (+/- 0.079 in).

    Object Number: 392473  Size: MH
  31. Measure the gap between the rear quarter panel (1) and the door (3).
  32. Specification
    Gap specification is 5.0 mm (+/- 1.5 mm), 0.197 in (+/- 0.06 in).


    Object Number: 392474  Size: MH
  33. Measure the gap between the rear end panel to the quarter panel. (Chevrolet only)
  34. Specification
    Gap specification is 2.0 mm (+/- 1.0 mm, 0.079 in (+/- 0.0394 in).


    Object Number: 392477  Size: MH
  35. Measure the gap between the side marker lamp and the rear fascia.
  36. Specification
    Gap specification is 1.0 mm (+/- 0.5 mm), 0.0394 in (+/- 0.0197 in).


    Object Number: 392478  Size: MH
  37. Measure the horizontal and vertical (not shown) gap between the center high mount stoplamp and the spoiler. (Chevrolet only)
  38. Specification
    horizontal and vertical gap specification is 1.0 mm (+/- 1.0 mm), 0.0394 in (+/- 0.0394 in).


    Object Number: 392481  Size: MH
  39. Measure the top horizontal gap between the center high mount stoplamp and the spoiler. (Trans Am only)
  40. Measure the vertical (not shown) gap between the center high mount stoplamp and the spoiler. (Trans Am only)
  41. Measure the bottom horizontal gap between the center high mount stoplamp and the spoiler. (Trans Am only).
  42. Specification

        • Top horizontal gap specification is 0.5 mm (+/- 0.5 mm), 0.0197 in (+/- 0.0197 in).
        • Vertical gap specification is 1.5 mm (+/- 1.0 mm), 0.059 in (+/- 0.0394 in).
        • Bottom horizontal gap specification is 1.5 mm (+/- 1.0 mm), 0.059 in (+/- 0.0394 in).

    Object Number: 392485  Size: MH
  43. Measure the horizontal gap between the center high mount stoplamp and the spoiler. (Firebird only)
  44. Measure the vertical (not shown) gap between the center high mount stoplamp and the spoiler. (Firebird only)
  45. Specification

        • horizontal gap specification is 1.0 mm (+/- 1.0 mm), 0.0394 in (+/- 0.0394 in).
        • Vertical gap specification is 1.5 mm (+/- 1.0 mm), 0.059 in (+/- 0.0394 in).

Measurements - Body Roof and Upper Body

Below are the roof and upper body fit requirements for Chevrolet and Pontiac, all specifications apply to both vehicles unless otherwise specified.


    Object Number: 392490  Size: MH
  1. Measure the gap between the roof lift off window (1) and the windshield reveal molding (4).
  2. Specification
    Gap specification is 2.0 mm (+/- 1.0 mm), 0.079 in (+/- 0.0394 in).


    Object Number: 392495  Size: MH
  3. Measure the gap between the roof (1) and the roof lift off window (3).
  4. Specification
    Gap specification is 2.0 mm (+/- 1.0 mm), 0.079 in (+/- 0.0394 in).


    Object Number: 392497  Size: MH
  5. Measure the gap between the deck lid (1) and the quarter belt reveal molding (2).
  6. Specification
    Gap specification is 5.0 mm (+/- 2.0 mm, 0.197 in (+/- 0.079 in).


    Object Number: 392498  Size: MH
  7. Measure the gap between the deck lid back belt (1) and the folding top (2).
  8. Specification
    Gap specification is 15.0 mm (+/- 3.0 mm, 0.591 in (+/- 0.119 in).


    Object Number: 392499  Size: MH
  9. Measure the gap between the quarter belt molding (1) and the folding top (3).
  10. Specification
    Gap specification is 15.0 mm (+/- 3.0 mm, 0.591 in (+/- 0.119 in).


    Object Number: 392502  Size: MH
  11. Measure the gap between the folding top (1) and the windshield (3).
  12. Specification
    Gap specification is 8.0 mm (+/- 2.0 mm), 0.315 in (+/- 0.079 in).


    Object Number: 392506  Size: MH
  13. Measure the gap between the folding top stowage compartment extension (1) and the quarter belt molding (2).
  14. Specification
    Gap specification is 6.0 mm (+/- 3.0 mm), 0.24 in (+/- 0.119 in).


    Object Number: 392509  Size: MH
  15. Measure the gap between the deck lid (1) and the folding top stowage compartment extension (2).
  16. Specification
    Gap specification is 7.5 mm (+/- 3.0 mm), 0.295 in (+/- 0.119 in).


    Object Number: 392515  Size: MH
  17. Measure the gap between the folding top stowage compartment cover (1) and the rear seat back (2).
  18. Specification
    Gap specification is 0.0 mm (+3.0 / -0.0)


    Object Number: 392519  Size: MH
  19. Measure the gap between the folding top stowage compartment cover (1) and the deck lid (2).
  20. Specification
    Gap specification is 5.0 mm (+/- 3.0 mm), 0.197 in (+/- 0.119 in).


    Object Number: 392525  Size: MH
  21. Measure the gap between the quarter trim extension (1) and the folding top stowage compartment extension (3).
  22. Specification
    Gap specification is 3.0 mm (+/- 2.0 mm), 0.119 mm (+/- 0.079 in).


    Object Number: 392529  Size: MH
  23. Measure the gap between the folding top stowage compartment extension (1) and the quarter trim panel (2).
  24. Specification
    Gap specification is 0.0 mm (+3.0 / -0.0)