GM Service Manual Online
For 1990-2009 cars only

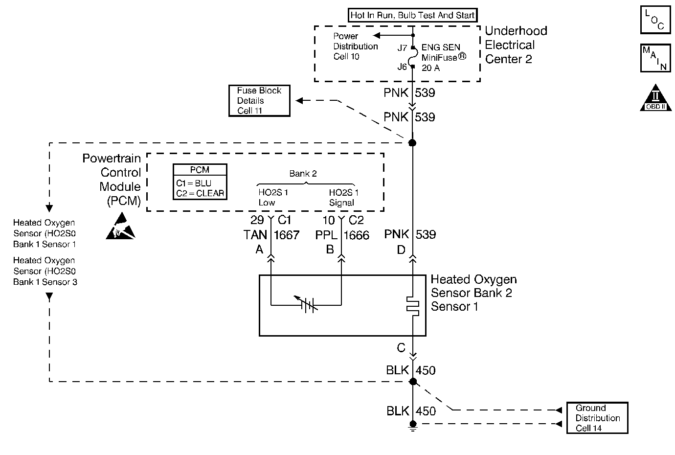
Object Number: 226749  Size: MF
Engine Controls Components
HO2S Sensors
OBD II Symbol Description Notice
Handling ESD Sensitive Parts Notice

Circuit Description

The PCM continuously monitors the Heated Oxygen Sensor (HO2S) activity. The PCM counts the number of times that the a rich to lean and lean to rich response is indicated and adds the amount of time it took to complete all transitions for a 100 second test period. With this information, an average time for each transition can be determined. If the average response time is too slow, a DTC P0153 will be set. A lean to rich transition is indicated when the HO2S voltage changes from less than 300 mV to greater than 600 mV. A rich to lean transition is indicated when the HO2S voltage changes from more than 600 mV to less than 300 mV. An HO2S that responds too slowly is likely to be faulty and should be replaced.

Conditions for Setting the DTC

    • No TP sensor, Bank 2 HO2S 1 Heater, EVAP system, EGR Pintle, misfire, IAT sensor, MAP sensor, fuel trim, fuel injector circuit, ECT sensor, or MAF sensor DTCs are set.
    • Engine has been running in closed loop for at least 1 minute.
    • Engine speed is between 1000 RPM and 3000 RPM.
    • Engine Coolant Temperature is greater than 50°C (122°F).
    • Mass Air Flow values are as follows:
       - Manual Transaxle - Between 10 g/s and 30 g/s.
       - Automatic Transaxle - Between 15 g/s and 29 g/s.
    • Automatic Transaxle - Bank 2 H02S 1 lean to rich and rich to lean average transition response time was longer than 90 milliseconds.
    • Manual Transaxle - Bank 2 H02S 1 lean to rich average transition response time was longer than 135 milliseconds. The rich to lean average transition response time was longer than 120 millisecondsec
    • The conditions are present during the 100 second response test period.
    • Automatic Transaxle - Bank 1 H02S 1 lean to rich and rich to lean average transition response time was longer than 90 milliseconds.
    • Manual Transaxle - Bank 1 H02S 1 lean to rich average transition response time was longer than 150 milliseconds. The rich to lean average transition response time was longer than 130 milliseconds.
    • The conditions are present during the 100 second response test period.

Action Taken When the DTC Sets

    • The PCM will illuminate the MIL during the second consecutive trip in which the diagnostic test has been run and failed.
    • The PCM will store conditions which were present when the DTC set as Freeze Frame and Fail Records data.

Conditions for Clearing the MIL/DTC

    • The PCM will turn the MIL OFF during the third consecutive trip in which the diagnostic has been run and passed.
    • The history DTC will clear after 40 consecutive warm-up cycles have occurred without a malfunction.
    • The DTC can be cleared by using the scan tool Clear Information function or by disconnecting the PCM battery feed.

Diagnostic Aids

Check for the following conditions:

    • Poor connection at the PCM - Inspect harness connectors for the following conditions:
       - Backed out terminals.
       - Improper mating.
       - Broken locks.
       - Improperly formed or damaged terminals.
       - Poor terminal to wire connection.
    • Damaged harness - Inspect the wiring harness for damage. If the harness appears to be OK, observe the Bank 2 HO2S 1 display on the scan tool while moving connectors and wiring harnesses related to the sensor. A change in the display will indicate the location of the fault.

Review the Fail Records vehicle mileage since the diagnostic test last failed. This may help determine how often the condition that caused the DTC to be set occurs.

Test Description

Number(s) below refer to the step number(s) on the Diagnostic Table:

  1. This step verifies that the fault is currently present.

  2. HO2S transition time, ratio mean volts and switching DTCs set for multiple sensors indicate probable contamination. Before replacing the sensors, isolate and correct the source of the contamination to avoid damaging the replacement sensors.

DTC P0153 - HO2S Slow Response Bank 2 Sensor 1

Step

Action

Value(s)

Yes

No

1

Was the Powertrain On-Board Diagnostic (OBD) System Check performed?

--

Go to Step 2

Go to the Powertrain On Board Diagnostic (OBD) System Check

2

Important: If any DTCs are set, (except P0133, P1133, P1134, P1135, P1136, P1153, P1154, P1155, and/or P1156), refer to those DTCs before proceeding with this diagnostic chart.

  1. Install scan tool
  2. Engine idling at operating temperature
  3. Operate vehicle within parameters specified under DTC Will Set When criteria included in Diagnostic Support.
  4. Using a scan tool, monitor Specific DTC info for DTC P0153 until the DTC P0153 test runs.
  5. Note the test result.

Does scan tool indicate DTC P0153 failed this ignition?

--

Go to Step 3

Go to Diagnostic Aids

3

Did the scan tool also indicate DTC P0153, P1133, P1134, P1135, P1136, P1153, P1154, P1155, and/or P1156 test failed this ignition?

--

Go to Step 8

Go to Step 4

4

  1. Perform Exhaust System Leak Test. Refer to Exhaust Leakage . After Exhaust System Leak Test has been performed, return to this diagnostic.
  2. If an exhaust leak is found, repair as necessary.

Was an exhaust leak isolated?

--

Go to Step 2

Go to Step 5

5

Visually/physically inspect the following items:

    • Ensure that the Bank 2 HO2S 1 is securely installed.
    • Check for corrosion on terminals.
    • Check terminal tension (at Bank 2 HO2S 1 and at the PCM).
    • Check for damaged wiring

Was a problem found in any of the above areas?

--

Go to Step 9

Go to Step 6

6

  1. Disconnect Bank 2 HO2S 1.
  2. Jumper HO2S low (PCM side) circuit to ground.
  3. Using a scan tool, monitor Bank 2 HO2S 1 voltage

Does the scan tool indicate voltage near the specified value?

450 mV

Go to Step 7

Go to Step 10

7

  1. Jumper Bank 2 HO2S 1 signal and low (PCM side) circuits to ground.
  2. Using a scan tool, monitor Bank 2 HO2S 1 voltage

Does scan tool indicate voltage below specified value?

300 mV

Go to Step 12

Go to Step 11

8

Replace affected Heated Oxygen Sensors. Refer to Heated Oxygen Sensor Replacement .

Important:  Before replacing sensors, the cause of the contamination must be determined and corrected.

    • Fuel contamination.
    • Use of improper RTV sealant
    • Engine oil/coolant consumption.

Is the action complete?

--

Go to Step 13

--

9

Repair condition as necessary.

Is the action complete?

--

Go to Step 13

--

10

Repair an open Bank 2 HO2S 1 low circuit or a grounded Bank 2 HO2S 1 high signal circuit. Refer to Wiring Repairs .

Is the action complete?

--

Go to Step 13

--

11

Repair an open Bank 2 HO2S 1 signal circuit or faulty PCM connections. Refer to Wiring Repairs .

Is the action complete?

--

Go to Step 13

--

12

Replace Bank 2 HO2S 1. Refer to Heated Oxygen Sensor Replacement .

Is the action complete?

--

Go to Step 13

--

13

  1. Review and record scan tool Fail Records data.
  2. Clear DTCs
  3. Operate vehicle within Fail Records conditions as noted.
  4. Using a scan tool, monitor Specific DTC info for DTC P0153 until the DTC P0153 test runs

Does the scan tool indicate DTC P0153 failed this ignition?

--

Go to Step 2

System OK