GM Service Manual Online
For 1990-2009 cars only

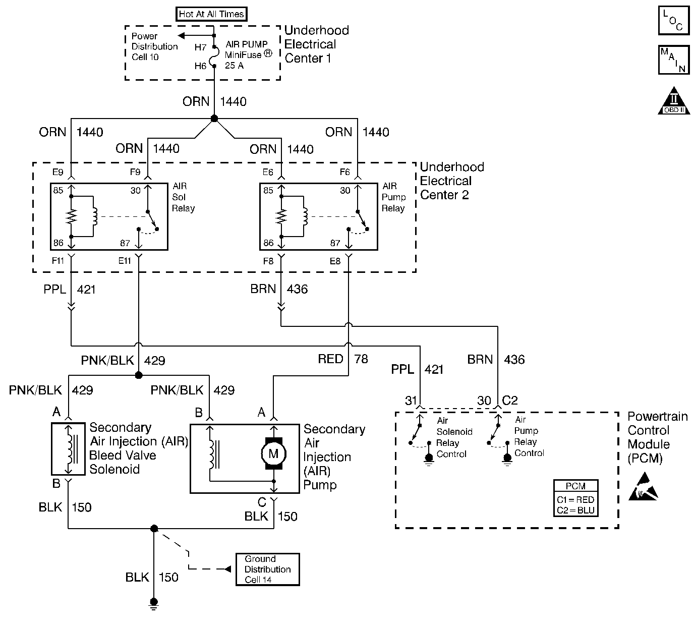
Object Number: 218550  Size: LF
Engine Controls Components
AIR and IAC
OBD II Symbol Description Notice
Handling ESD Sensitive Parts Notice

Circuit Description

An AIR pump is used on this vehicle to lower tail pipe emissions on start-up. The PCM supplies a ground to the AIR pump relay, which energizes the AIR pump.

The PCM monitors the HO2S voltages to diagnose the AIR system.

During the AIR test the PCM activates the AIR pump during closed loop operation. When the AIR is activated, the PCM monitors the HO2S voltages and short term fuel trim values for both banks of the engine. If the AIR system is operating properly, the HO2S voltages should go low and the short term fuel trim should go high.

If the PCM determines that the HO2S voltages for both banks did not respond as expected during the tests, DTC P0410 sets. If only one sensor responded, the PCM sets either a DTC P1415 or P1416 to indicate on which bank the AIR system is inoperative.

Conditions for Running the DTC

    • DTCs P0101, P0102, P0103, P0107, P0108, P0112, P0113, P0117, P0118, P0300, P0325, P0327, P0335, P0441, P0502, P0503, and HO2S DTCs not set.
    • The engine operating.
    • The engine operates for greater than 15 seconds in short term fuel trim cells 2, 5, and 20.
    • Engine speed is greater than 550 RPM.
    • Maximum air flow is 22 g/s.
    • ECT is greater than 50°C (122°F).
    • IAT is greater than 10°C (50°F).
    • Ignition voltage is greater than 11.6 volts.
    • Engine load is less than 30%.

Conditions for Setting the DTC

    • HO2S voltage does not go below 222 mV for 0.9 seconds when the AIR pump turns ON during closed loop operation.
    • Short term fuel trim does not go above a predetermined amount when the AIR pump turns ON during closed loop operation.

Action Taken When the DTC Sets

    • The PCM illuminates the malfunction indicator lamp (MIL) on the second consecutive ignition cycle that the diagnostic runs and fails.
    • The PCM records the operating conditions at the time the diagnostic fails. The first time the diagnostic fails, the PCM stores this information in the Failure Records. If the diagnostic reports a failure on the second consecutive ignition cycle, the PCM records the operating conditions at the time of the failure. The PCM writes the conditions to the Freeze Frame and updates the Failure Records.

Conditions for Clearing the MIL/DTC

    • The PCM turns OFF the malfunction indicator lamp (MIL) after 3 consecutive ignition cycles that the diagnostic runs and does not fail.
    • A last test failed, or current DTC, clears when the diagnostic runs and does not fail.
    • A history DTC clears after 40 consecutive warm-up cycles, if no failures are reported by this or any other emission related diagnostic.
    • Use a scan tool in order to clear the MIL and the DTC.

Diagnostic Aids

    • Using Freeze Frame and/or Failure Records data may aid in locating an intermittent condition. If you cannot duplicate the DTC, the information included in the Freeze Frame and/or Failure Records data can aid in determining how many miles since the DTC set. The Fail Counter and Pass Counter can also aid determining how many ignition cycles the diagnostic reported a pass and/or a fail. Operate the vehicle within the same freeze frame conditions (RPM, load, vehicle speed, temperature etc.) that you observed. This isolates when the DTC failed.
    • For an intermittent, refer to Symptoms .

Test Description

The numbers below refer to the step numbers on the diagnostic table.

  1. If DTCs P0412 and P0418 are also set at the same time, this indicates the AIR pump fuse is open.

  2. Excessive resistance in either the control circuit or the B+ circuit will cause an inoperative relay. Command each relay ON and OFF as necessary to verify operation. This step verifies the AIR pump operation.

  3. This step isolates if the condition is the AIR integral stop valve or the AIR Bleed Valve solenoid. If no air is present at the outlet of the pump, this indicates a condition with the integral stop valve or circuit.

  4. When an engine is started, a vacuum is created in the AIR system. This vacuum causes the integral stop valve from not opening which causes DTC P0410 to set. When the engine is started the PCM commands the AIR Bleed Valve solenoid to open and relieve the vacuum in the AIR system. This step verifies the solenoid is capable of relieving the vacuum.

DTC P0410 - Secondary Air Injection (AIR) System

Step

Action

Value(s)

Yes

No

1

Did you perform the Powertrain On-Board Diagnostic (OBD) System Check?

--

Go to Step 2

Go to Powertrain On Board Diagnostic (OBD) System Check

2

Are both DTCs P0412 AND P0418 also set?

--

Go to Step 13

Go to Step 3

3

Is DTC P0412 or P0418 set?

--

Go to Applicable DTC table

Go to Step 4

4

Important: Listen for an audible click as the relays operate. If no audible click can be heard, inspect the related circuits for excessive resistance.

  1. Turn ON the ignition leaving the engine OFF.
  2. Enable the AIR System using a scan tool.

Does the AIR pump turn ON?

--

Go to Step 8

Go to Step 5

5

Important: Refer to Electrical Center Identification Views for relay terminal identification.

  1. Turn OFF the ignition.
  2. Disconnect the AIR pump relay.
  3. Turn ON the ignition leaving the engine OFF.
  4. Probe the AIR pump relay B+ supply circuit terminal at the underhood electrical center 1 using the test lamp J 35616-200 connected to battery ground. Refer to Probing Electrical Connectors in Wiring Systems.

Is the test lamp illuminated?

--

Go to Step 6

Go to Step 21

6

  1. Turn OFF the ignition.
  2. Reconnect the AIR pump relay.
  3. Turn ON the ignition leaving the engine OFF.
  4. Raise the vehicle. Refer to Lifting and Jacking the Vehicle in General Information.
  5. Disconnect the electrical connector from the AIR pump.
  6. Probe terminal A of the AIR pump electrical connector to battery ground using the test lamp J 35616-200 . Refer to Probing Electrical Connectors and Troubleshooting with a Test Lamp in Wiring Systems.
  7. Enable the AIR System using a scan tool.

Is the test lamp illuminated?

--

Go to Step 7

Go to Step 22

7

  1. Probe terminal A of AIR pump electrical connector to terminal C of the AIR pump electrical connector using the test lamp J 35616-200 . Refer to Probing Electrical Connectors in Wiring Systems.
  2. Enable the AIR System using a scan tool.

Is the test lamp illuminated?

--

Go to Step 32

Go to Step 23

8

Important: Refer to Electrical Center Identification Views for relay terminal identification.

  1. Turn OFF the ignition.
  2. Disconnect the AIR Solenoid relay.
  3. Turn ON the ignition leaving the engine OFF.
  4. Probe the AIR solenoid relay B+ supply circuit terminal (switch side of relay) at the underhood electrical center 1 using the test lamp J 35616-200 connected to battery ground. Refer to Probing Electrical Connectors in Wiring Systems.

Is the test lamp illuminated?

--

Go to Step 9

Go to Step 21

9

  1. Turn OFF the ignition.
  2. Reconnect the AIR solenoid relay.
  3. Turn ON the ignition.
  4. Raise the vehicle. Refer to Lifting and Jacking the Vehicle in General Information.
  5. Disconnect the AIR pump outlet hose.
  6. Enable the AIR System using a scan tool.

Is air present at the AIR pump outlet?

--

Go to Step 12

Go to Step 10

10

  1. Disconnect the electrical connector from the AIR pump.
  2. Probe terminal B of the AIR pump electrical connector to battery ground using the test lamp J 35616-200 . Refer to Probing Electrical Connectors in Wiring Systems.
  3. Enable the AIR System using a scan tool.

Is the test lamp illuminated?

--

Go to Step 32

Go to Step 11

11

  1. Test the continuity between the AIR pump and the AIR solenoid relay using the DMM J 39200 . Refer to Testing for Continuity in Wiring Systems.
  2. Repair the circuit as necessary. Refer to Wiring Repairs .

Did you find and correct the condition?

--

Go to Step 37

Go to Step 31

12

  1. Inspect for a restriction/blockage or a disconnect in the AIR hoses/pipes between the AIR pump and the point where the system branches to both sides of the engine.
  2. If you find a condition repair as necessary.

Did you find and correct the condition?

--

Go to Step 37

Go to Step 18

13

  1. Turn OFF the ignition.
  2. Disconnect the AIR pump relay and AIR solenoid relay.
  3. Probe one of the B+ supply circuits for the AIR Pump relay at the underhood electrical center 1 with the test lamp J 35616-200 connected to B+. Refer to Probing Electrical Connectors and Testing for Short to Ground in Wiring Systems.

Does the test lamp illuminate?

--

Go to Step 25

Go to Step 14

14

  1. Raise the vehicle. Refer to Lifting and Jacking the Vehicle in General Information.
  2. Disconnect the AIR Pump electrical connector.
  3. Probe terminal A of the AIR Pump harness connector with the test lamp J 35616-200 connected to B+. Refer to Probing Electrical Connectors and Testing for Short to Ground in Wiring Systems.

Does the test lamp illuminate?

--

Go to Step 26

Go to Step 15

15

  1. Disconnect the AIR Bleed Valve solenoid electrical connector.
  2. Probe terminal A of the AIR Bleed Valve solenoid harness connector with the test lamp J 35616-200 connected to B+. Refer to Probing Electrical Connectors and Testing for Short to Ground in Wiring Systems.

Does the test lamp illuminate?

--

Go to Step 27

Go to Step 16

16

Measure the resistance of the AIR Bleed Valve solenoid. Refer to Testing for Continuity in Wiring Systems.

Is the resistance less than the specified value?

15ohms

Go to Step 29

Go to Step 17

17

  1. Install all the disconnected components.
  2. Install a new fuse.
  3. Turn ON the ignition leaving the engine OFF.
  4. Enable the AIR System using a scan tool.

Does the fuse open?

--

Go to Step 33

Go to Diagnostic Aids

18

  1. Disconnect the AIR Bleed Valve Solenoid.
  2. Probe the AIR Bleed Valve Solenoid B+ supply circuit terminal at the solenoid harness connector using the test lamp J 35616-200 connected to ground. Refer to Probing Electrical Connectors in Wiring Systems.
  3. Enable the AIR Solenoid relay using a scan tool.

Is the test lamp illuminated?

--

Go to Step 19

Go to Step 24

19

  1. Connect the test lamp J 35616-200 across the AIR Bleed Valve solenoid harness connector. Refer to Probing Electrical Connectors in Wiring Systems.
  2. Enable the AIR Solenoid relay using a scan tool.

Does the test lamp illuminate?

--

Go to Step 20

Go to Step 35

20

  1. Disconnect the vacuum line at AIR Bleed Valve solenoid.
  2. Connect the hand vacuum pump J 23738-A to the AIR Bleed Valve solenoid.
  3. Apply the specified amount of vacuum to the solenoid.
  4. Enable the AIR Solenoid relay using a scan tool.

Does the vacuum hold before the solenoid was enabled and release when the solenoid is enabled?

10 in.

Go to Step 36

Go to Step 28

21

Repair the open circuit between the fuse and the relay. Refer to Wiring Repairs in Wiring Systems.

Is the action complete?

--

Go to Step 37

--

22

  1. Test the continuity between the AIR pump and the AIR pump relay using the DMM J 39200 . Refer to Testing for Continuity in Wiring Systems.
  2. Repair the circuit as necessary. Refer to Wiring Repairs .

Did you find and correct the condition?

--

Go to Step 37

Go to Step 30

23

Repair the faulty ground connection or open AIR pump ground circuit. Refer to Wiring Repairs in Wiring Systems.

Is the action complete?

--

Go to Step 37

--

24

Test the continuity between the AIR Solenoid relay and the AIR Bleed Valve Solenoid using the DMM J 39200 . Refer to Testing for Continuity in Wiring Systems.

Does the DMM display OL?

--

Go to Step 34

Go to Step 31

25

Repair the short to ground in the ignition feed circuit between the fuse and the relays. Refer to Wiring Repairs .

Is the action complete?

--

Go to Step 37

--

26

Repair the short to ground in the circuit between the AIR Pump relay and the AIR pump. Refer to Wiring Repairs in Wiring Systems.

Is the action complete?

--

Go to Step 37

--

27

Repair the short to ground in the circuit between the AIR Solenoid relay and the AIR Bleed Valve Solenoid/AIR pump. Refer to Wiring Repairs in Wiring Systems.

Is the action complete?

--

Go to Step 37

--

28

  1. Inspect for a poor connection at the AIR Bleed Valve solenoid. Refer to Intermittents and Poor Connections Diagnosis in Wiring Systems.
  2. If you find a poor connection repair as necessary. Refer to Repairing Connector Terminals in Wiring Systems.

Did you find and repair the condition?

--

Go to Step 37

Go to Step 29

29

Replace the AIR Bleed Valve Solenoid. Refer to Secondary Air Injection Bleed Valve Solenoid Replacement .

Is the action complete?

--

Go to Step 37

--

30

Replace the AIR pump relay. Refer to Secondary Air Injection Pump Relay Replacement .

Is the action complete?

--

Go to Step 37

--

31

Replace the AIR solenoid relay. Refer to Secondary Air Injection Solenoid Relay Replacement .

Is the action complete?

--

Go to Step 37

--

32

  1. Inspect for a poor connection at the AIR pump. Refer to Intermittents and Poor Connections Diagnosis in Wiring Systems.
  2. If you find a poor connection repair as necessary. Refer to Repairing Connector Terminals in Wiring Systems.

Did you find and repair the condition?

--

Go to Step 37

Go to Step 33

33

Replace the AIR pump. Refer to Secondary Air Injection Pump Replacement .

Is the action complete?

--

Go to Step 37

--

34

Repair the open B+ supply circuit to the AIR Bleed Valve solenoid. Refer to Wiring Repairs in Wiring Systems.

Is the action complete?

--

Go to Step 37

--

35

Repair the open ground circuit to the AIR Bleed Valve solenoid. Refer to Wiring Repairs in Wiring Systems.

Is the action complete?

--

Go to Step 37

--

36

Repair the vacuum line to the AIR Bleed Valve solenoid for the following:

    • Restrictions
    • Kinked vacuum line

Is the action complete?

--

Go to Step 37

--

37

  1. Select the Diagnostic Trouble Codes (DTC) option and the Clear DTC Information option using the scan tool.
  2. Idle the engine at the normal operating temperature.
  3. Select the Specific DTC option under the Diagnostic Trouble Code (DTC) option using a scan tool.
  4. Operate vehicle within the Conditions for Running the DTC as specified in the supporting text, if applicable.

Does the scan tool indicate that this test passed?

--

Go to Step 38

Go to Step 2

38

Select the Capture Info option and the Review Info option using the scan tool.

Are any DTCs displayed that you have not diagnosed?

--

Go to the applicable DTC table

System OK