GM Service Manual Online
For 1990-2009 cars only

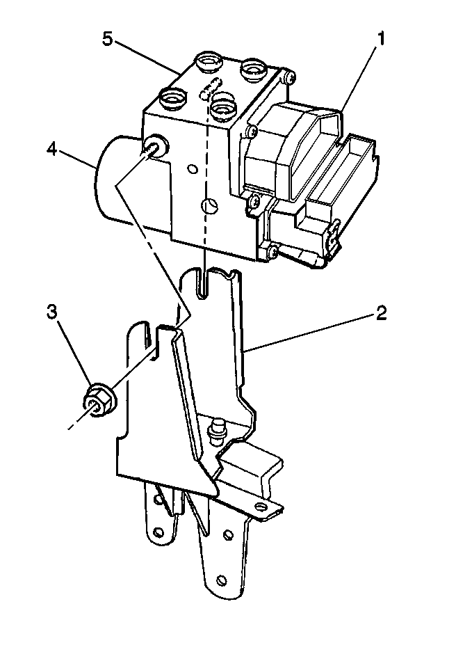
Removal Procedure


    Object Number: 255229  Size: MH
  1. Turn the ignition switch to the OFF position.
  2. Loosen the two insulator nuts (3).
  3. Important: Do not damage brake lines when moving the EBCM/BPMV assembly.

  4. Lift the EBCM/BPMV assembly (5) out of the bracket and support.
  5. Remove the power steering fluid reservoir bracket, if equipped. Refer to Remote Power Steering Fluid Reservoir Bracket Replacement in Power Steering System.
  6. Remove the BPMV bracket bolts or studs.
  7. Remove the BPMV bracket by lifting up and away from the frame.

Installation Procedure


    Object Number: 255229  Size: MH
  1. Install the BPMV bracket to the crossmember.
  2. Notice: Use the correct fastener in the correct location. Replacement fasteners must be the correct part number for that application. Fasteners requiring replacement or fasteners requiring the use of thread locking compound or sealant are identified in the service procedure. Do not use paints, lubricants, or corrosion inhibitors on fasteners or fastener joint surfaces unless specified. These coatings affect fastener torque and joint clamping force and may damage the fastener. Use the correct tightening sequence and specifications when installing fasteners in order to avoid damage to parts and systems.

  3. Install the bracket bolts or studs to the BPMV bracket.
  4. Tighten the bolts or studs in the following sequence:
  5. Tighten

        • Tighten the lower left bolt or stud to 50 N·m (37 lb ft).
        • Tighten the upper left bolt or stud to 50 N·m (37 lb ft).
        • Tighten the upper and lower right bolts or studs to 50 N·m (37 lb ft).
  6. Install the EBCM/BPMV assembly (5) into the bracket.
  7. Tighten
    Tighten the two insulator nuts to 25 N·m (18 lb ft).

  8. Install the power steering fluid reservoir bracket, if equipped. Refer to Remote Power Steering Fluid Reservoir Bracket Replacement in Power Steering System.