GM Service Manual Online
For 1990-2009 cars only
Figure 1:

Power and Ground


Object Number: 775176  Size: FS
Master Electrical Component List
Body Control System Description and Operation
Lighting References
AIR BAG and GAUGES Fuses
COURTESY, RADIO ACCY Fuses and DEFOG/SEATS CKT BRKR
IGN Fuse and Ignition Switch Bussing
IGN Fuse and Ignition Switch Bussing
Battery Positive Voltage Bussing
AIR BAG and GAUGES Fuses
Ignition Switch Bussing
G200 Page 1 of 3
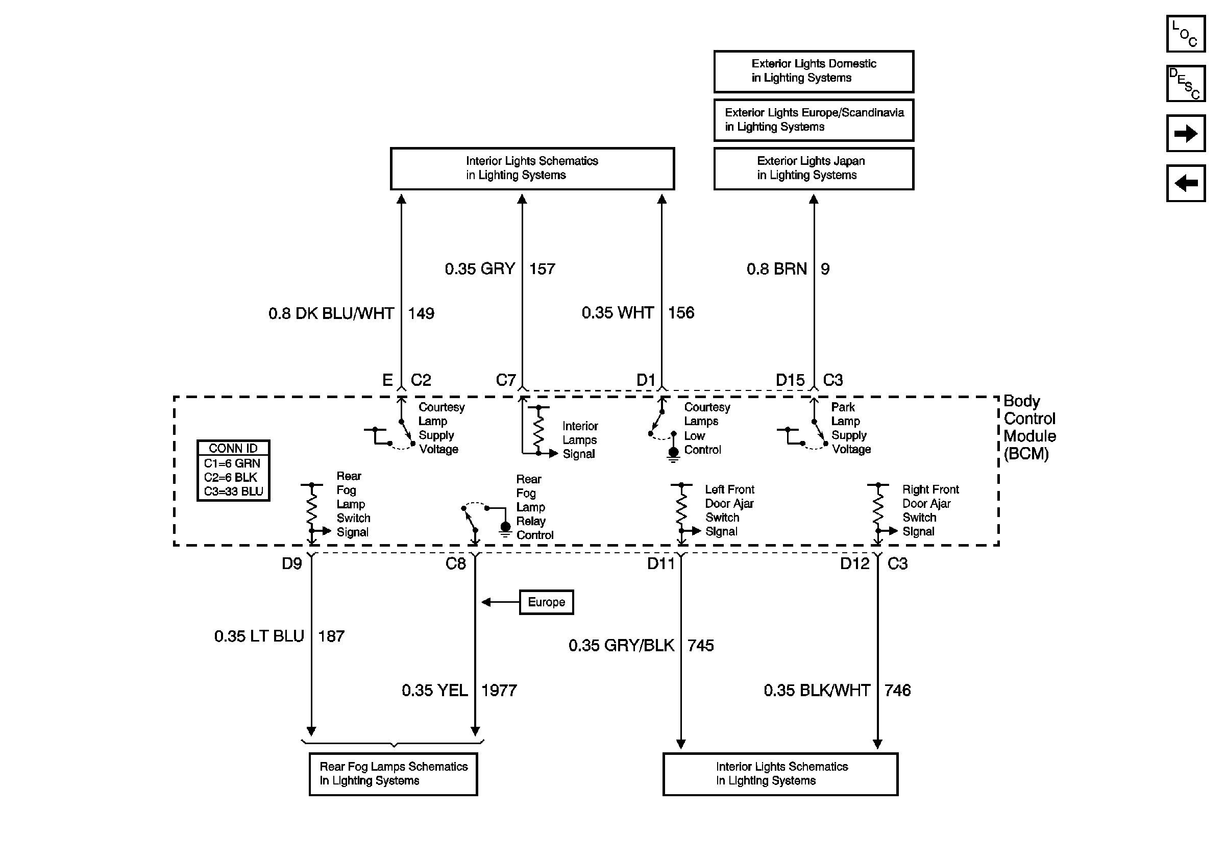
Figure 2:

Lighting References


Object Number: 775181  Size: FS
Master Electrical Component List
Body Control System Description and Operation
Controlled/Monitored System References 1 of 2
Power and Ground
Courtesy Lamps
Front Parklamps Chevrolet Domestic and Gulf
Parklamps Chevrolet Europe and Scandanavia
Front Park Lamps Chevrolet Japan
Rear Fog Lights Chevrolet Europe
Switch Signals
Figure 3:

Controlled/Monitored System References, Page 1 of 2


Object Number: 775190  Size: FS
Master Electrical Component List
Body Control System Description and Operation
Controlled/Monitored System References 2 of 2
Lighting References
Fuel Controls-Fuel Pump Controls
Fuel Controls-Fuel Pump Controls
Horns Schematic
Lamp Indicators
Rear Compartment Lid Release/Ajar Controls
Audible Warnings Schematic
Door Lock/Indicator Schematic
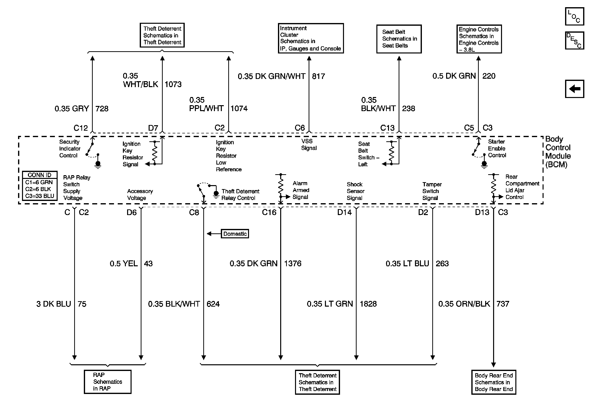
Figure 4:

Controlled/Monitored System References, Page 2 of 2


Object Number: 775192  Size: FS
Master Electrical Component List
Body Control System Description and Operation
Controlled/Monitored System References 1 of 2
Vehicle Theft Deterrent Components
Power, Ground, SerialData, Speedometer,Tachometer and Voltmeter
Seat Belt Schematic
Controlled Monitored Subsytem References
Retained Accessory Power Schematic
Content Theft Deterrent Components
Rear Compartment Lid Release/Ajar Controls