GM Service Manual Online
For 1990-2009 cars only

Engine/Accessory Drive Noisy, Lack of Power, Supercharger Not Functioning Properly (Replace Bracket, Pulley Assembly or Belt as Necessary)

Subject:Engine/Accessory Drive Noisy, Lack of Power, Supercharger Not Functioning Properly (Replace Bracket, Pulley Assembly or Belt as Necessary)

Models:2004 Pontiac Grand Prix
with 3.8L V6 Engine (VIN 4 - RPO L32)



This bulletin is being revised to include additional enhancements to the Correction section. Please discard Corporate Bulletin Number 04-06-01-008A (Section 06 -- Engine).


Condition

Some owners may comment on the engine or accessory drive being noisy. In addition, some customers may comment on lack of power or the supercharger not functioning correctly. This may also be a repeat concern.

Cause

The cause may be an incorrect belt installed, idler pulley bearing damaged or an out of round condition of the idler strut bracket.

Correction

Important: The accessory drive belt tensioner should not be replaced unless it shows signs of physical damage. Replacing the tensioner will not correct this concern.

Perform the following checks:

  1. Check the idler pulley for bearing damage, an out of round condition, backwards installation or missing ferule.
  2. •  If the bearing is damaged, replace the pulley, pulley bolt and ferule with a new pulley assembly.

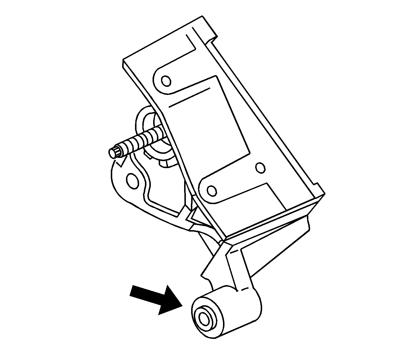
    Object Number: 1645106  Size: SH
    • If an out of round condition is present because of a mis-machine engine mount strut bracket, replace the engine mount strut bracket with P/N 24507211. The arrow in the illustration above indicates the area of concern with the bracket. The existing pulley may be re-used if: there is no damage present, it was originally installed in the correct direction and it is not missing the nylon ferule. If the pulley is to be re-used, refer to the steps below for proper assembly.

    Object Number: 1558438  Size: SH

       Important: Because the pulley described in this bulletin is used on other applications, the bolt that attaches it to the engine may not be installed in the direction needed for this vehicle from the pulley manufacturer. After removing the pulley assembly from the package, inspect to see that the head of the bolt is installed on the side of the pulley with the smaller diameter. The threaded end of the bolt should protrude out from the side of the pulley with the larger diameter. If you find that the bolt is NOT installed correctly, it can be removed and reinstalled in the correct direction by lightly tapping with a small mallet. When installed on the engine, the side of the pulley with the larger diameter should be facing the engine bracket.

    • The arrow in the illustration above indicates the front of the pulley. The front of the pulley has a smaller diameter. Be sure that the front (smaller diameter) always faces out away from the engine, regardless on how the idler pulley was installed previously.

    Object Number: 1558443  Size: SH
    • In the illustration above, the arrow indicates the location of the black nylon ferule on the back of the pulley. If the ferule is missing, replace the idler pulley assembly. The ferule keeps the pulley centered on the bolt.
  3. Check the supercharger accessory belt to verify that the correct belt is being used. The correct belt P/N is 12576687. Replace the belt if it is not the correct belt.
  4. Check the supercharger accessory belt installation to ensure that the belt is properly aligned with the grooves in the crankshaft pulley. Re-install belt properly, as necessary. Refer to SI Document ID #914948 for Drive Belt Replacement (L32).

Parts Information

Part Number

Description

Qty

12576687

Belt, Supercharger Accessory Drive

1 as req'd

24507211

Bracket, Engine Mount Strut

1 as req'd

12564509

Pulley Assembly, Drive Belt Idler

1 as req'd

Parts are currently available from GMSPO.

Warranty Information

For vehicles repaired under warranty, use:

Labor Operation

Description

Labor Time

J0667

Belt, Accessory Drive - Replace

Use Published Labor Operation Time

J0690

Pulley, Accessory Drive Belt Idler - Replace