GM Service Manual Online
For 1990-2009 cars only

Tools Required

J 3387-2 Guide Pins


    Object Number: 181712  Size: SH
  1. Install the check ball (193) into the case fluid passages.

  2. Object Number: 181714  Size: SH
  3. Install J 3387-2 into the transmission case.
  4. Install the spacer plate to transmission case gasket (132).
  5. Install the spacer plate (130).
  6. Install the control valve body to spacer plate gasket (129).
  7. Install the servo cover gasket (168).
  8. Install the servo cover (169).
  9. Install the servo cover bolts (152).
  10. Tighten
    Tighten the bolts to 24 N·m (18 lb ft).

    Refer to Fastener Notice .


    Object Number: 181715  Size: SH
  11. Install the manual valve link (139) into the manual valve (138). The long side of the manual valve link (139) fits into the manual valve (138).
  12. Install the control valve body assembly (128) onto the transmission case (101). Connect the manual valve link (139) to the detent lever (140).
  13. Remove J 3387-2 .

  14. Object Number: 181716  Size: SH
  15. Install the manual detent roller assembly (145).
  16. Install the control valve body bolts (155).
  17. Tighten
    Tighten the bolt to 19 N·m (14 lb ft).


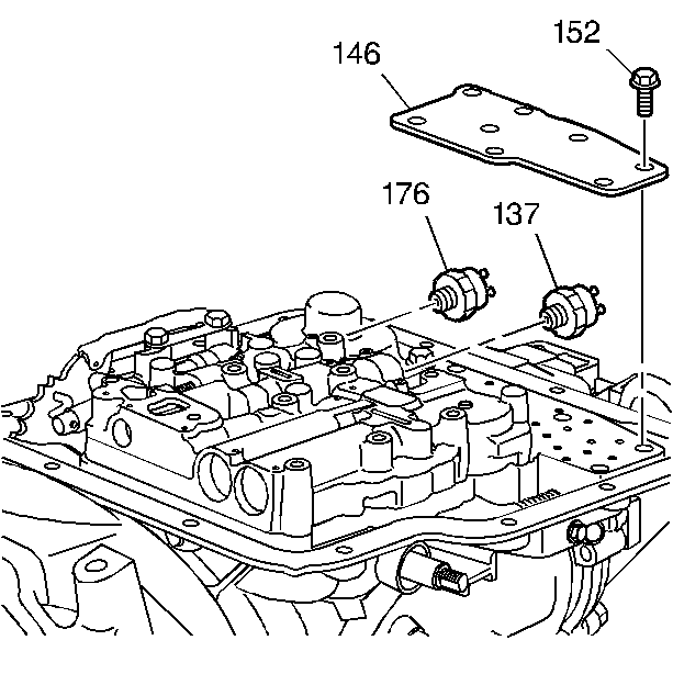
    Object Number: 181719  Size: SH
  18. Install the reinforcement plate (146).
  19. Install the reinforcement plate bolts (152).
  20. Install the governor oil pressure switch (137).
  21. Tighten
    Tighten the pressure switch to 10 N·m (89 lb in).

  22. Install the oil pressure switch (176), if equipped.

  23. Object Number: 181720  Size: SH
  24. Install new seals (151) onto the TCC solenoid pipes (149) and (150).
  25. Important:: Make sure the TCC Solenoid pipes do not interfere with the manual valve operation.

  26. Install the solenoid pipes (149) and (150) into the TCC solenoid (147).
  27. Install the pipes (149) and (150) into the control valve assembly (500) and the transmission oil pump.
  28. Install the TCC solenoid bolts (152).
  29. Tighten
    Tighten the bolts to 19 N·m (14 lb ft).


    Object Number: 180624  Size: SH
  30. Install the wiring harness (148).
  31. Connect the wiring harness to the electrical components.

Tools Required

    • J 3387-2 Converter Housing Guide Pin
    • J 36850 Transjel Transmission Assembly Lubricant

    Caution: Unless directed otherwise, the ignition and start switch must be in the OFF or LOCK position, and all electrical loads must be OFF before servicing any electrical component. Disconnect the negative battery cable to prevent an electrical spark should a tool or equipment come in contact with an exposed electrical terminal. Failure to follow these precautions may result in personal injury and/or damage to the vehicle or its components.

  1. Disconnect the negative battery cable.
  2. Notice: Be sure to install the check ball in the transmission case passage when installing the valve body. Use a small amount of J 36850 Transjel® transmission assembly lubricant, or an equivalent, to keep the check ball in place during valve body installation. Failure to install the check ball correctly may result in transmission damage or transmission shift failure.


    Object Number: 166261  Size: SH
  3. Install the following items into the transmission case:
  4. • The check ball
    • The transfer plate gaskets
    • The transfer plate
    • The valve body
    • The manual detent roller

    Notice: Use the correct fastener in the correct location. Replacement fasteners must be the correct part number for that application. Fasteners requiring replacement or fasteners requiring the use of thread locking compound or sealant are identified in the service procedure. Do not use paints, lubricants, or corrosion inhibitors on fasteners or fastener joint surfaces unless specified. These coatings affect fastener torque and joint clamping force and may damage the fastener. Use the correct tightening sequence and specifications when installing fasteners in order to avoid damage to parts and systems.

  5. Using the J 3387-2 to align the valve body with the transmission case, install the valve body (1) onto the transmission case with nine bolts.
  6. Tighten
    Tighten the 9 valve body bolts to 19 N·m (14 lb ft).


    Object Number: 166263  Size: SH
  7. Install a new servo piston cover gasket (2) and servo piston cover (1) onto the transmission case with 4 bolts.
  8. Tighten
    Tighten the 4 servo cover bolts to 25 N·m (18 lb ft).

  9. Install the reinforcement plate onto the transmission case with 6 bolts.
  10. Tighten
    Tighten the 6 reinforcement plate bolts to 19 N·m (14 lb ft).

  11. Install the torque converter clutch (TCC) solenoid onto the reinforcement plate with 2  bolts.
  12. Tighten
    Tighten the 2 TCC solenoid retaining bolts to 19 N·m (14 lb ft).


    Object Number: 166199  Size: SH
  13. Install the TCC solenoid electrical connector (3).
  14. Inspect the TCC solenoid pipe O-rings for cuts or other damage. Replace the O-rings as necessary.
  15. Apply a thin coat of J 36850 to the O-rings.
  16. Install the TCC solenoid pipes (2) into the following components:
  17. 10.1. The TCC solenoid (4)
    10.2. The fluid pump
    10.3. The valve body
  18. Install a new fluid filter screen gasket and fluid filter screen (1) onto the valve body.
  19. Tighten
    Tighten the 3 fluid filter screen bolts to 19 N·m (14 lb ft).

  20. Install a new transmission fluid pan gasket and transmission fluid pan onto the transmission. Refer to Transmission Fluid Pan Removal in this section.
  21. Remove the drain pan from under the transmission fluid pan.
  22. Lower the vehicle.
  23. Connect the negative battery cable.
  24. Refill the transmission as necessary: