GM Service Manual Online
For 1990-2009 cars only

Removal Procedure

  1. Remove the LH front seat. Refer to Front Seat Replacement - Bucket .

  2. Object Number: 1463094  Size: SH
  3. Remove the seat position sensor cover (1).
  4. Remove the seat position sensor electrical connector.

  5. Object Number: 1463091  Size: SH
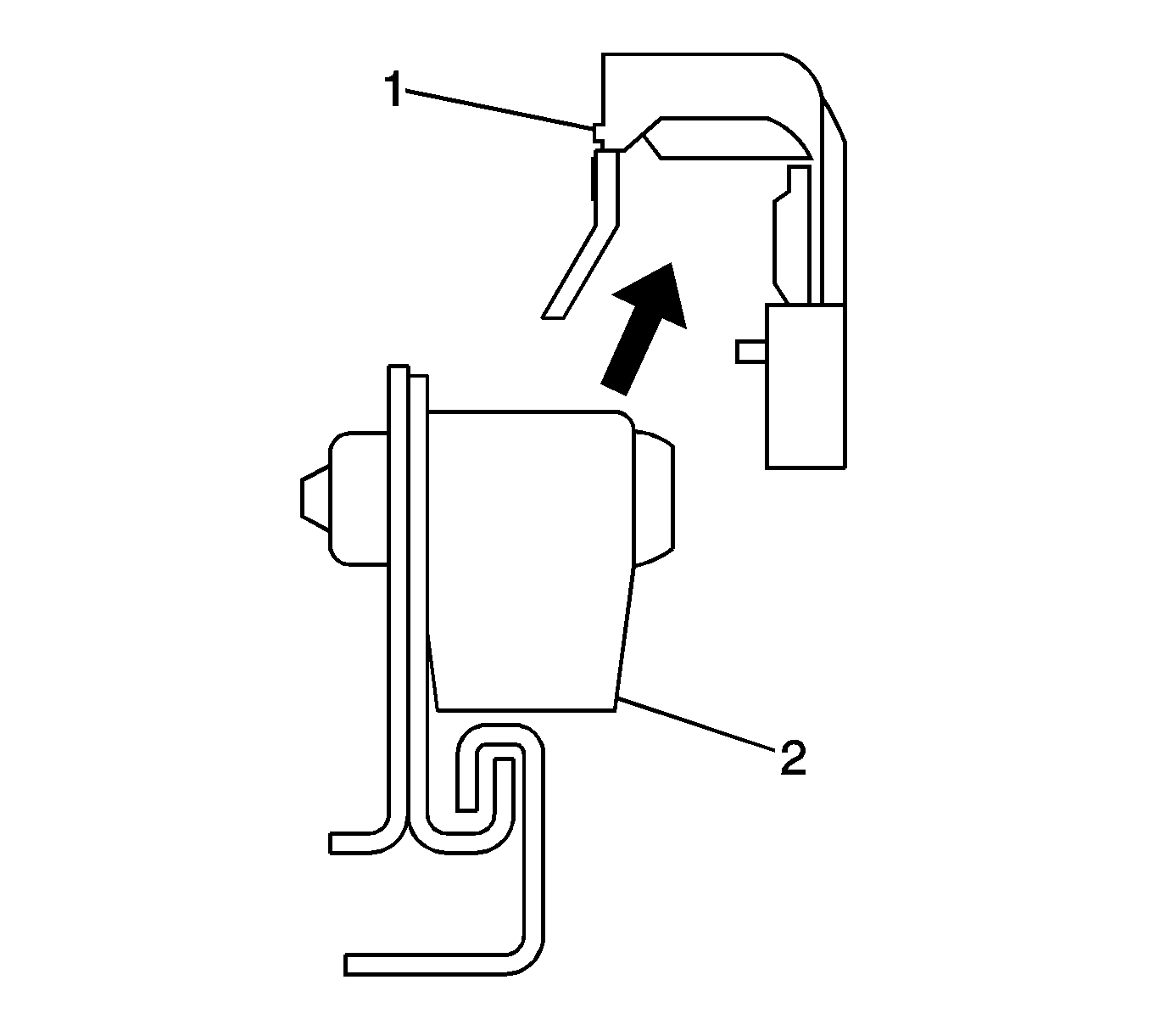
  6. Remove the seat position sensor fastener (1).
  7. Remove the seat position sensor (2).

Installation Procedure


    Object Number: 1463091  Size: SH
  1. Install the seat position sensor (2).
  2. Install the seat position sensor fastener (1).

  3. Object Number: 1463088  Size: SH
  4. Insert a 1 mm (0.039 in) feeler gage between the seat position sensor (1) and seat rail (2).

  5. Object Number: 1463091  Size: SH

    Notice: Use the correct fastener in the correct location. Replacement fasteners must be the correct part number for that application. Fasteners requiring replacement or fasteners requiring the use of thread locking compound or sealant are identified in the service procedure. Do not use paints, lubricants, or corrosion inhibitors on fasteners or fastener joint surfaces unless specified. These coatings affect fastener torque and joint clamping force and may damage the fastener. Use the correct tightening sequence and specifications when installing fasteners in order to avoid damage to parts and systems.

  6. Tighten the seat position sensor fastener (1).
  7. Tighten
    Tighten the seat position sensor fastener to 8 N·m (71 lb in).


    Object Number: 1463088  Size: SH
  8. Check that the clearance between the seat position sensor (1) and seat rail (2) is 0.6 mm (0.023 in) to 2 mm (0.079 in).
  9. Install the seat position sensor electrical connector.

  10. Object Number: 1463094  Size: SH
  11. Install the seat position sensor cover (1).
  12. Install the LH front seat. Refer to Front Seat Replacement - Bucket .