GM Service Manual Online
For 1990-2009 cars only
Figure 1:

Cell 81: IP Fuse Block


Object Number: 341914  Size: FS
Instrument Panel, Gages, and Console Component Views
Cell 81: Fuel Tank Unit
Power Distribution Schematics
Power Distribution Schematics
Power Distribution Schematics
Power Distribution Schematics
Ground Distribution Schematics
Ground Distribution Schematics
Data Link Connector Schematics
Handling ESD Sensitive Parts Notice
Figure 2:

Cell 81: Fuel Tank Unit


Object Number: 341916  Size: FS
Instrument Panel, Gages, and Console Component Views
Cell 81: Airbag Indicator
Cell 81: IP Fuse Block
Power Distribution Schematics
Power Distribution Schematics
Handling ESD Sensitive Parts Notice
Figure 3:

Cell 81: Airbag Indicator


Object Number: 341917  Size: FS
Instrument Panel, Gages, and Console Component Views
Cell 81: Security Indicator
Cell 81: Fuel Tank Unit
Engine Controls Schematics
Handling ESD Sensitive Parts Notice
SIR Handling Caution
Figure 4:

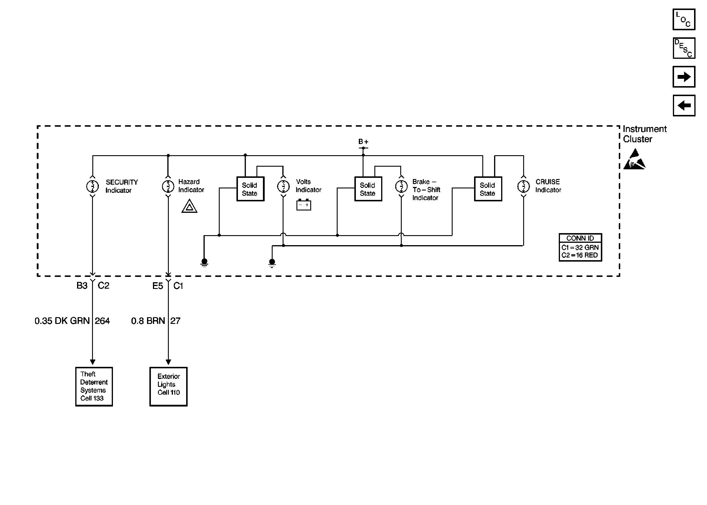
Cell 81: Security Indicator


Object Number: 341920  Size: FS
Instrument Panel, Gages, and Console Component Views
Cell 81: Instrument Cluster Illumination Lamps
Cell 81: Airbag Indicator
Theft Deterrent System Schematics
Exterior Lights Schematics Buick
Handling ESD Sensitive Parts Notice
Figure 5:

Cell 81: Instrument Cluster Illumination Lamps


Object Number: 341921  Size: FS
Instrument Panel, Gages, and Console Component Views
Cell 81: Coolant Level Switch
Cell 81: Security Indicator
Interior Lights Dimming Schematics Buick
Interior Lights Dimming Schematics Buick
Exterior Lights Schematics Buick
Exterior Lights Schematics Buick
Headlights Schematics Buick
Audible Warnings Schematics
Ground Distribution Schematics
Handling ESD Sensitive Parts Notice
Figure 6:

Cell 81: Coolant Level Switch


Object Number: 341922  Size: FS
Instrument Panel, Gages, and Console Component Views
Cell 81: Speedometer
Cell 81: Instrument Cluster Illumination Lamps
Power Distribution Schematics
Ground Distribution Schematics
Ground Distribution Schematics
Engine Controls Schematics
Handling ESD Sensitive Parts Notice
Handling ESD Sensitive Parts Notice
Handling ESD Sensitive Parts Notice
Figure 7:

Cell 81: Speedometer


Object Number: 341924  Size: FS
Instrument Panel, Gages, and Console Component Views
Cell 81: Oil Pressure Indicator
Cell 81: Coolant Level Switch
Power Distribution Schematics
Power Distribution Schematics
Power Distribution Schematics
Power Distribution Schematics
Ground Distribution Schematics
Ground Distribution Schematics
Engine Controls Schematics
Engine Controls Schematics
Handling ESD Sensitive Parts Notice
Handling ESD Sensitive Parts Notice
Figure 8:

Cell 81: Oil Pressure Indicator


Object Number: 341928  Size: FS
Instrument Panel, Gages, and Console Component Views
Cell 81: Body Control Module (MALL)
Cell 81: Speedometer
Power Distribution Schematics
Handling ESD Sensitive Parts Notice
Power Distribution Schematics
Figure 9:

Cell 81: Body Control Module (MALL)


Object Number: 341929  Size: FS
Figure 10:

Cell 81: Washer Fluid Level Switch


Object Number: 341932  Size: FS
Instrument Panel, Gages, and Console Component Views
Cell 81: Airbag Indicator
Cell 81: Body Control Module (MALL)
Interior Lights Dimming Schematics Buick
Handling ESD Sensitive Parts Notice
Ground Distribution Schematics
Exterior Lights Schematics Buick
Headlights Schematics Buick
Figure 11:

Cell 81: Airbag Indicator


Object Number: 341933  Size: FS
Instrument Panel, Gages, and Console Component Views
Cell 81: Traction Off Indicator
Cell 81: Washer Fluid Level Switch
Engine Controls Schematics
Figure 12:

Cell 81: Traction Off Indicator


Object Number: 341937  Size: FS
Cell 81: Airbag Indicator
Theft Deterrent System Schematics
Exterior Lights Schematics Buick
Cell 81: Oil Pressure Indicator
Cell 81: Oil Pressure Indicator
Handling ESD Sensitive Parts Notice
Instrument Panel, Gages, and Console Component Views