GM Service Manual Online
For 1990-2009 cars only

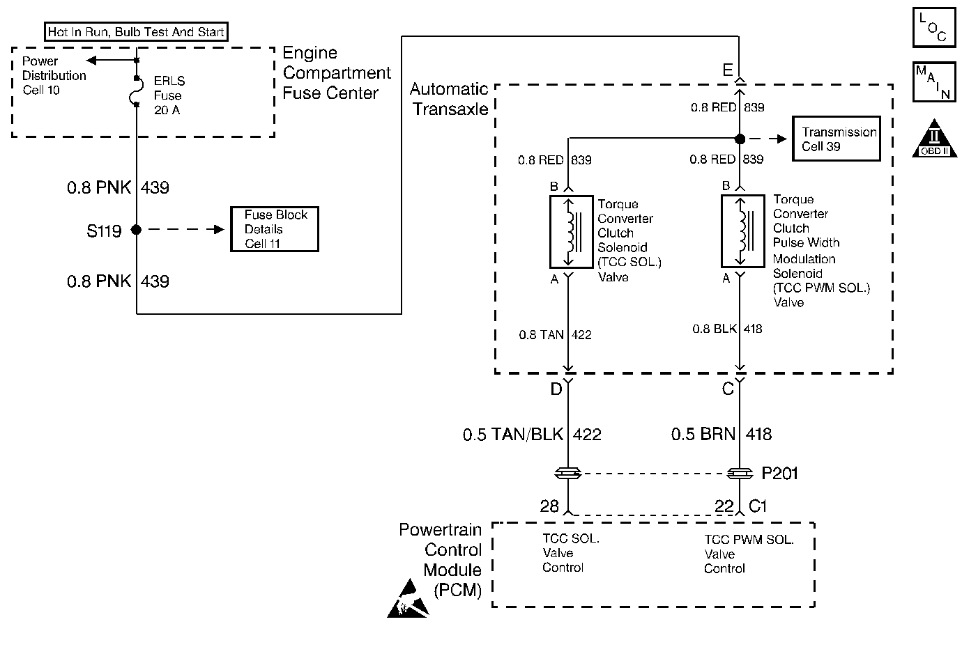
DTC P1864 TCC Solenoid Electrical 2.4L VIN T


Object Number: 29745  Size: MF
Automatic Transmission Components
Automatic Transmission Controls Schematics
OBD II Symbol Description Notice
Handling ESD Sensitive Parts Notice

Circuit Description

In conjunction with the Torque Converter Clutch Pulse Width Modulation Solenoid Valve (TCC PWM Sol. Valve), the Torque Converter Clutch Solenoid Valve (TCC Sol. Valve) controls the fluid acting on the TCC converter clutch valve. This controls the TCC apply and release. The PCM monitors the throttle position, the vehicle speed and other inputs in order to determine when to energize the TCC Sol. Valve. Circuit 439 supplies ignition voltage directly to the TCC Sol. Valve. The PCM controls the TCC Sol. Valve by providing the ground path through circuit 422. When you command the TCC Sol. Valve OFF, the PCM receives high voltage. When you command the TCC Sol. Valve ON, the PCM receives low voltage.

When the PCM detects low voltage when the TCC Sol. Valve is commanded OFF or high voltage when the TCC Sol. Valve is commanded ON, then DTC P1864 sets. DTC P1864 is a type A DTC.

Conditions for Setting the DTC

    • No System Voltage Malfunction DTC P0560
    • The ignition is ON.
    • The System voltage is more than 9.0 volts.
    • No open or short to ground exists for 4.3 seconds.

Action Taken When the DTC Sets

    • The PCM inhibits TCC operation.
    • The PCM inhibits 4th gear, if the transmission is in hot mode.
    • The PCM illuminates the Malfunction Indicator Lamp (MIL).

Conditions for Clearing the MIL/DTC

    • The PCM turns OFF the MIL after three consecutive ignition cycles without a failure reported.
    • A scan tool can clear the DTC from the PCM history. The PCM clears the DTC from the PCM history if the vehicle completes 40 warm-up cycles without a failure reported.
    • The PCM cancels the DTC default actions when the fault no longer exists and the ignition is OFF long enough in order to power down the PCM.

Diagnostic Aids

    • Inspect the wiring for poor electrical connections at the PCM. Inspect the wiring at the transmission 7-way connector. Look for the following conditions:
       - A bent terminal
       - A backed out terminal
       - A damaged terminal
       - Poor terminal tension
       - A chafed wire
       - A broken wire inside the insulation
    • When diagnosing for an intermittent short or open condition, massage the wiring harness while watching the test equipment for a change.

Test Description

The numbers below refer to the step numbers on the diagnostic table.

  1. This step isolates the fault between the engine harness and the transmission harness.

  2. This step verifies that circuit 422 is not open or shorted to power.

  3. This step verifies that the TCC Sol. Valve is not shorted across its windings or increased its resistance.

DTC P1864 Torque Converter Clutch (TCC) Solenoid Circuit-Electrical

Step

Action

Value(s)

Yes

No

1

Was the Powertrain On-Board Diagnostic (OBD) System Check performed?

--

Go to Step 2

Go to Powertrain On Board Diagnostic (OBD) System Check

2

  1. Install the scan tool (tech 1) ®.
  2. With the engine OFF, turn the ignition switch to the RUN position.
  3. Important: Before clearing the DTCs, use the scan tool in order to record the Freeze Frame and Failure Records for reference. The Clear Info function will erase the data.

  4. Record the DTC Freeze Frame and Failure Records.

Are DTCs P0753, P0758, and P1860 set?

--

Go to Step 3

Go to Step 6

3

  1. Remove the ERLS fuse.
  2. Inspect the fuse for an open.

Refer to Troubleshooting Procedures, Section 8.

Did you find and correct a problem?

--

Go to Step 4

Go to Step 5

4

Repair the short to ground in circuit 439.

Refer to Troubleshooting Procedures, Section 8.

Did you find and correct a problem?

--

Go to Step 19

--

5

Repair the open in circuit 439.

Refer to Troubleshooting Procedures, Section 8.

Did you find and correct a problem?

--

Go to Step 19

--

6

  1. Turn the ignition switch OFF.
  2. Disconnect the transmission 7-way connector.
  3. Install the J 38835 Transmission Electrical Jumper to the engine harness connector.
  4. Connect a test lamp from terminal E to terminal D of the jumper.
  5. Important: Additional DTCs will set.

  6. With the engine OFF, turn the ignition switch to the RUN position.

Is the test lamp ON?

--

Go to Step 7

Go to Step 8

7

Inspect circuit 422 for a short to ground.

Refer to Troubleshooting Procedures, Section 8.

Did you find and correct a problem?

--

Go to Step 19

Go to Step 18

8

  1. Select A/T Outputs, TCC Solenoid.
  2. Cycle the TCC solenoid ON and OFF three times.

Does the test lamp cycle ON and OFF as commanded?

--

Go to Step 12

Go to Step 9

9

Inspect circuit 422 for an open.

Refer to Troubleshooting Procedures, Section 8.

Did you find and correct a problem?

--

Go to Step 19

Go to Step 10

10

Is the test lamp always OFF?

--

Go to Step 11

--

11

Inspect circuit 422 for a short to power.

Refer to Troubleshooting Procedures, Section 8.

Did you find and correct a problem?

--

Go to Step 19

Go to Step 18

12

  1. Turn the ignition switch OFF.
  2. Disconnect the Transmission Jumper from the engine harness.
  3. Connect the J 38835 Transmission Electrical Jumper to the transmission harness 7-way connector.
  4. Connect an ohmmeter from terminal E to terminal D of the jumper.

Is the measured resistance within the specified range?

19-31ohms

Go to Step 18

Go to Step 13

13

Is the resistance greater than the specified value?

100ohms

Go to Step 14

Go to Step 15

14

  1. Inspect the RED wire circuit 439 for an open.
  2. Inspect the TAN wire circuit 422 for an open.

Refer to Troubleshooting Procedures, Section 8.

Did you find and correct a problem?

--

Go to Step 19

Go to Step 17

15

Connect the ohmmeter from terminal D of the jumper to ground.

Is the measured resistance less than the specified value?

100ohms

Go to Step 16

Go to Step 17

16

Inspect the TAN wire circuit 422 for a short to ground.

Refer to Troubleshooting Procedures, Section 8.

Was the problem found and corrected?

--

Go to Step 19

--

17

Replace the TCC Sol. Valve.

Refer to Torque Converter Clutch Solenoid Valve Replacement, in On-Vehicle Service.

Is the replacement complete?

--

Go to Step 19

--

18

Replace the PCM.

Refer to Powertrain Control Module/EEPROM Replacement/Programming , Section 6

Is the replacement complete?

--

Go to Step 19

--

19

In order to verify your repair, perform the following procedure:

  1. Select DTC.
  2. Select Clear Info.
  3. Operate the vehicle under the following conditions:
  4. • The ignition switch is ON.
    • The engine speed is more than 500 RPM for 5 seconds.
    • The vehicle is not in fuel shut off.
    • The system voltage is greater than 9 volts.
    • Drive the vehicle for a TCC ON cycle.
    • No open or short to ground exists for more than 4.3 seconds in each solenoid state.
  5. Select Specific DTC. Enter DTC P1864.

Has the test run and passed?

--

System OK

Begin the diagnosis again. Go to Step 1

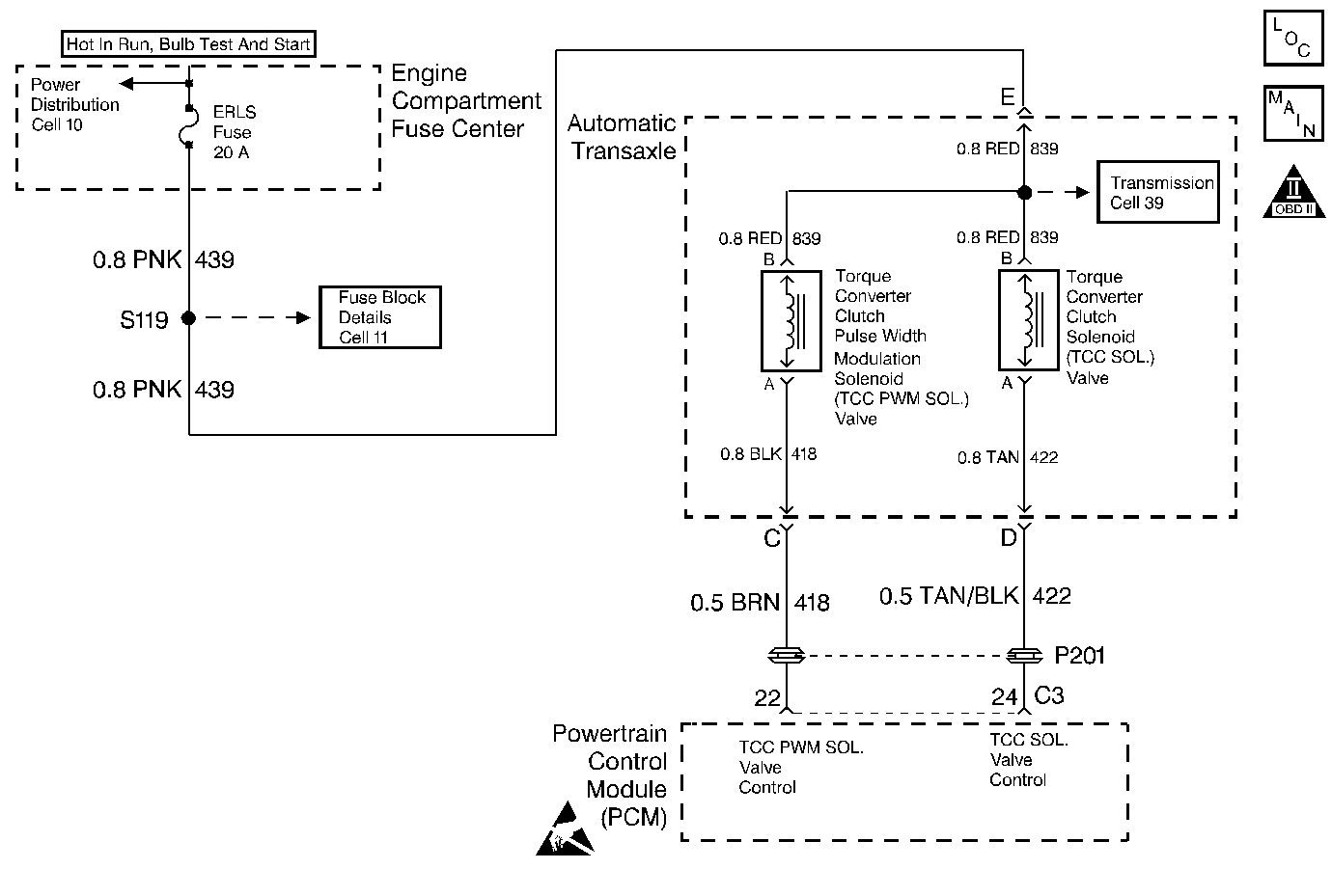
DTC P1864 TCC Solenoid Electrical 3.1L VIN M


Object Number: 29639  Size: MF
Automatic Transmission Components
Automatic Transmission Controls Schematics
OBD II Symbol Description Notice
Handling ESD Sensitive Parts Notice

Circuit Description

In conjunction with the Torque Converter Clutch Pulse Width Modulation Solenoid Valve (TCC PWM Sol. Valve), the Torque Converter Clutch Solenoid Valve (TCC Sol. Valve) controls the fluid acting on the TCC converter clutch valve. This controls the TCC apply and release. The PCM monitors the throttle position, the vehicle speed and other inputs in order to determine when to energize the TCC Sol. Valve. Circuit 439 supplies ignition voltage directly to the TCC Sol. Valve. The PCM controls the TCC Sol. Valve by providing the ground path through circuit 422. When you command the TCC Sol. Valve OFF, the PCM receives high voltage. When you command the TCC Sol. Valve ON, the PCM receives low voltage.

When the PCM detects low voltage when the TCC Sol. Valve is commanded OFF or high voltage when the TCC Sol. Valve is commanded ON, then DTC P1864 sets. DTC P1864 is a type A DTC.

Conditions for Setting the DTC

    • No System Voltage Malfunction DTC P0560
    • The engine speed is greater than 500 RPM for 5 seconds.
    • Not in fuel shut off
    • No open or short to ground exists for 4.3 seconds.

Action Taken When the DTC Sets

    • The PCM inhibits TCC.
    • The PCM inhibits 4th gear, if the transmission is in hot mode.
    • The PCM illuminates the Malfunction Indicator Lamp (MIL).

Conditions for Clearing the MIL/DTC

    • The PCM turns OFF the MIL after three consecutive ignition cycles without a failure reported.
    • A scan tool can clear the DTC from the PCM history. The PCM clears the DTC from the PCM history if the vehicle completes 40 warm-up cycles without a failure reported.
    • The PCM cancels the DTC default actions when the fault no longer exists and the ignition is OFF long enough in order to power down the PCM.

Diagnostic Aids

    • Inspect the wiring for poor electrical connections at the PCM. Inspect the wiring at the transmission 7-way connector. Look for the following conditions:
       - A bent terminal
       - A backed out terminal
       - A damaged terminal
       - Poor terminal tension
       - A chafed wire
       - A broken wire inside the insulation
    • When diagnosing for an intermittent short or open condition, massage the wiring harness while watching the test equipment for a change.

Test Description

The numbers below refer to the step numbers on the diagnostic table.

  1. This step isolates the fault between the engine harness and the transmission harness.

  2. This step verifies that circuit 422 is not open or shorted to power.

  3. This step verifies that the TCC Sol. Valve is not shorted across its windings or increased its resistance.

DTC P1864 Torque Converter Clutch (TCC) Solenoid Circuit-Electrical

Step

Action

Value(s)

Yes

No

1

Was the Powertrain On-Board Diagnostic (OBD) System Check performed?

--

Go to Step 2

Go to Powertrain On Board Diagnostic (OBD) System Check

2

  1. Install the scan tool (tech 1) ®.
  2. With the engine OFF, turn the ignition switch to the RUN position.
  3. Important: Before clearing the DTCs, use the scan tool in order to record the Freeze Frame and Failure Records for reference. The Clear Info function will erase the data.

  4. Record the DTC Freeze Frame and Failure Records.

Are DTCs P0753, P0758, and P1860 set?

--

Go to Step 3

Go to Step 6

3

  1. Remove the ERLS fuse.
  2. Inspect the fuse for an open.

Refer to Troubleshooting Procedures, Section 8.

Did you find and correct a problem?

--

Go to Step 4

Go to Step 5

4

Repair the short to ground in circuit 439.

Refer to Troubleshooting Procedures, Section 8.

Did you find and correct a problem?

--

Go to Step 19

--

5

Repair the open in circuit 439.

Refer to Troubleshooting Procedures, Section 8.

Did you find and correct a problem?

--

Go to Step 19

--

6

  1. Turn the ignition switch OFF.
  2. Disconnect the transmission 7-way connector.
  3. Install the J 38835 Transmission Electrical Jumper to the engine harness connector.
  4. Connect a test lamp from terminal E to terminal D of the jumper.
  5. Important: Additional DTCs will set.

  6. With the engine OFF, turn the ignition switch to the RUN position.

Is the test lamp ON?

--

Go to Step 7

Go to Step 8

7

Inspect circuit 422 for a short to ground.

Refer to Troubleshooting Procedures, Section 8.

Did you find and correct a problem?

--

Go to Step 19

Go to Step 18

8

  1. Select A/T Outputs, TCC Solenoid.
  2. Cycle the TCC solenoid ON and OFF three times.

Does the test lamp cycle ON and OFF as commanded?

--

Go to Step 12

Go to Step 9

9

Inspect circuit 422 for an open.

Refer to Troubleshooting Procedures, Section 8.

Did you find and correct a problem?

--

Go to Step 19

Go to Step 10

10

Is the test lamp always OFF?

--

Go to Step 11

--

11

Inspect circuit 422 for a short to power.

Refer to Troubleshooting Procedures, Section 8.

Did you find and correct a problem?

--

Go to Step 19

Go to Step 18

12

  1. Turn the ignition switch OFF.
  2. Disconnect the Transmission Jumper from the engine harness.
  3. Connect the J 38835 Transmission Electrical Jumper to the Automatic Transmission harness 7-way connector.
  4. Connect an ohmmeter from terminal E to terminal D of the jumper.

Is the measured resistance within the specified range?

19-31ohms

Go to Step 18

Go to Step 13

13

Is the resistance greater than the specified value?

100ohms

Go to Step 14

Go to Step 15

14

  1. Inspect the RED wire circuit 439 for an open.
  2. Inspect the TAN wire circuit 422 for an open.

Refer to Troubleshooting Procedures, Section 8.

Did you find and correct a problem?

--

Go to Step 19

Go to Step 17

15

Connect the ohmmeter from terminal D of the jumper to ground.

Is the measured resistance less than the specified value?

100ohms

Go to Step 16

Go to Step 17

16

Inspect the TAN wire circuit 422 for a short to ground.

Refer to Troubleshooting Procedures, Section 8.

Was the problem found and corrected?

--

Go to Step 19

--

17

Replace the TCC Sol. Valve.

Refer to Torque Converter Clutch Solenoid Valve Replacement, in On-Vehicle Service.

Is the replacement complete?

--

Go to Step 19

--

18

Replace the PCM.

Refer to Powertrain Control Module Replacement/Programming , Section 6.

Is the replacement complete?

--

Go to Step 19

--

19

In order to verify your repair, perform the following procedure:

  1. Select DTC.
  2. Select Clear Info.
  3. Operate the vehicle under the following conditions:
  4. • The ignition switch is ON.
    • The engine speed is more than 500 RPM for 5 seconds.
    • The vehicle is not in fuel shut off.
    • Drive the vehicle for a TCC ON cycle.
    • No open or short to ground exists for more than 4.3 seconds in each solenoid state.
  5. Select Specific DTC. Enter DTC P1864.

Has the test run and passed?

--

System OK

Begin the diagnosis again. Go to Step 1