GM Service Manual Online
For 1990-2009 cars only
Figure 1:

Cell 14: G111 and G112 (Except Bravada/Envoy)


Object Number: 355398  Size: FS
Power and Grounding Components
Cell 14: G106, G107, G108, G110 and G118
Figure 2:

Cell 14: G106, G107, G108, G110 and G118


Object Number: 488323  Size: FS
Power and Grounding Components
Cell 14: G111 and G112 (Bravada)
Cell 14: G111 and G112 (Except Bravada/Envoy)
Handling ESD Sensitive Parts Notice
Handling ESD Sensitive Parts Notice
SIR Handling Caution
Figure 3:

Cell 14: G111 and G112 (Bravada)


Object Number: 355401  Size: FS
Power and Grounding Components
Cell 14: G111, G112, G114, and G115 (Envoy)
Cell 14: G106, G107, G108, G110 and G118
Figure 4:

Cell 14: G111, G112, G114, and G115 (Envoy)


Object Number: 355406  Size: FS
Power and Grounding Components
Cell 14: G102 (Pickup)
Cell 14: G111 and G112 (Bravada)
Figure 5:

Cell 14: G102 (Pickup)


Object Number: 355410  Size: FS
Power and Grounding Components
Cell 14: G102 (Utility)
Cell 14: G111, G112, G114, and G115 (Envoy)
Figure 6:

Cell 14: G102 (Utility)


Object Number: 355413  Size: FS
Power and Grounding Components
Cell 14: BBEC and UBEC (Pickup)
Cell 14: G102 (Pickup)
Figure 7:

Cell 14: BBEC and UBEC (Pickup)


Object Number: 355415  Size: FS
Power and Grounding Components
Cell 14: G103 and G105 (Pickup 2.2L)
Cell 14: G102 (Utility)
Handling ESD Sensitive Parts Notice
Handling ESD Sensitive Parts Notice
Handling ESD Sensitive Parts Notice
Handling ESD Sensitive Parts Notice
Cell 14: G103 and G105 (Pickup 2.2L)
Cell 14: G103 and G105 (Pickup 4.3L)
Figure 8:

Cell 14: G103 and G105 (Pickup 2.2L)


Object Number: 355420  Size: FS
Power and Grounding Components
Cell 14: G103 and G105 (Pickup 4.3L)
Cell 14: BBEC and UBEC (Pickup)
Handling ESD Sensitive Parts Notice
Handling ESD Sensitive Parts Notice
Cell 14: BBEC and UBEC (Pickup)
Figure 9:

Cell 14: G103 and G105 (Pickup 4.3L)


Object Number: 355421  Size: FS
Power and Grounding Components
Cell 14: BBEC and UBEC (Utility)
Cell 14: G103 and G105 (Pickup 2.2L)
Handling ESD Sensitive Parts Notice
Handling ESD Sensitive Parts Notice
Cell 14: BBEC and UBEC (Pickup)
Figure 10:

Cell 14: BBEC and UBEC (Utility)


Object Number: 355425  Size: FS
Power and Grounding Components
Cell 14: G103 and G105 (Utility)
Cell 14: G103 and G105 (Pickup 4.3L)
Handling ESD Sensitive Parts Notice
Handling ESD Sensitive Parts Notice
Handling ESD Sensitive Parts Notice
Handling ESD Sensitive Parts Notice
Handling ESD Sensitive Parts Notice
Handling ESD Sensitive Parts Notice
Handling ESD Sensitive Parts Notice
Handling ESD Sensitive Parts Notice
Cell 14: G103 and G105 (Utility)
Figure 11:

Cell 14: G103 and G105 (Utility)


Object Number: 355426  Size: FS
Power and Grounding Components
Cell 14: G104 and G117 (Pickup 4.3L)
Cell 14: BBEC and UBEC (Utility)
Handling ESD Sensitive Parts Notice
Cell 14: BBEC and UBEC (Utility)
Figure 12:

Cell 14: G104 and G117 (Pickup 4.3L)


Object Number: 355428  Size: FS
Power and Grounding Components
Cell 14: G104 and G117 (Utility)
Cell 14: G103 and G105 (Utility)
Handling ESD Sensitive Parts Notice
Figure 13:

Cell 14: G104 and G117 (Utility)


Object Number: 355432  Size: FS
Power and Grounding Components
Cell 14: Splice Pack SP203 (Pickup)
Cell 14: G104 and G117 (Pickup 4.3L)
Handling ESD Sensitive Parts Notice
Handling ESD Sensitive Parts Notice
Handling ESD Sensitive Parts Notice
Figure 14:

Cell 14: Splice Pack SP203 (Pickup)


Object Number: 355433  Size: FS
Power and Grounding Components
Cell 14: G203 and G204 (Pickup)
Cell 14: G104 and G117 (Utility)
Handling ESD Sensitive Parts Notice
Cell 14: G203 and G204 (Pickup)
Figure 15:

Cell 14: G203 and G204 (Pickup)


Object Number: 355437  Size: FS
Power and Grounding Components
Cell 14: Splice Pack SP203 (Utility w/ Manual A/C)
Cell 14: Splice Pack SP203 (Pickup)
Handling ESD Sensitive Parts Notice
Cell 14: Splice Pack SP203 (Pickup)
Figure 16:

Cell 14: Splice Pack SP203 (Utility w/ Manual A/C)


Object Number: 355440  Size: FS
Power and Grounding Components
Cell 14: G203 and G204 (Utility w/ Manual A/C)
Cell 14: G203 and G204 (Pickup)
Handling ESD Sensitive Parts Notice
Cell 14: G203 and G204 (Utility w/ Manual A/C)
Figure 17:

Cell 14: G203 and G204 (Utility w/ Manual A/C)


Object Number: 355443  Size: FS
Power and Grounding Components
Cell 14: Splice Pack SP203 (Utility w/ Auto A/C Except Envoy)
Cell 14: Splice Pack SP203 (Utility w/ Manual A/C)
Handling ESD Sensitive Parts Notice
Cell 14: Splice Pack SP203 (Utility w/ Manual A/C)
Figure 18:

Cell 14: Splice Pack SP203 (Utility w/ Auto A/C Except Envoy)


Object Number: 355444  Size: FS
Power and Grounding Components
Cell 14: G203 and G204 (Utility w/ Auto A/C Except Envoy)
Cell 14: G203 and G204 (Utility w/ Manual A/C)
Handling ESD Sensitive Parts Notice
Cell 14: G203 and G204 (Utility w/ Auto A/C Except Envoy)
Figure 19:

Cell 14: G203 and G204 (Utility w/ Auto A/C Except Envoy)


Object Number: 355449  Size: FS
Power and Grounding Components
Cell 14: Splice Pack SP203 (Envoy)
Cell 14: Splice Pack SP203 (Utility w/ Auto A/C Except Envoy)
Handling ESD Sensitive Parts Notice
Handling ESD Sensitive Parts Notice
Handling ESD Sensitive Parts Notice
Cell 14: Splice Pack SP203 (Utility w/ Auto A/C Except Envoy)
Figure 20:

Cell 14: Splice Pack SP203 (Envoy)


Object Number: 355452  Size: FS
Power and Grounding Components
Cell 14: G203 and G204 (Envoy)
Cell 14: G203 and G204 (Utility w/ Auto A/C Except Envoy)
Handling ESD Sensitive Parts Notice
Cell 14: G203 and G204 (Envoy)
Figure 21:

Cell 14: G203 and G204 (Envoy)


Object Number: 355455  Size: FS
Power and Grounding Components
Cell 14: G205 and G206 (Pickup w/ 2WD)
Cell 14: Splice Pack SP203 (Envoy)
Handling ESD Sensitive Parts Notice
Handling ESD Sensitive Parts Notice
Handling ESD Sensitive Parts Notice
Cell 14: Splice Pack SP203 (Envoy)
Figure 22:

Cell 14: G205 and G206 (Pickup w/ 2WD)


Object Number: 491155  Size: FS
Power and Grounding Components
Cell 14: G205 and G206 (Pickup w/ 4WD)
Cell 14: G203 and G204 (Envoy)
Figure 23:

Cell 14: G205 and G206 (Pickup w/ 4WD)


Object Number: 491148  Size: FS
Power and Grounding Components
Cell 14: G205 and G206 (Utility w/ 2WD)
Cell 14: G205 and G206 (Pickup w/ 2WD)
Figure 24:

Cell 14: G205 and G206 (Utility w/ 2WD)


Object Number: 491149  Size: FS
Power and Grounding Components
Cell 14: G205 and G206 (Utility w/ NP1, Except Envoy)
Cell 14: G205 and G206 (Pickup w/ 4WD)
Figure 25:

Cell 14: G205 and G206 (Utility w/ NP1, Except Envoy)


Object Number: 355458  Size: FS
Power and Grounding Components
Cell 14: G206 (Envoy w/ Electric Shift 4WD)
Cell 14: G205 and G206 (Utility w/ 2WD)
Handling ESD Sensitive Parts Notice
Figure 26:

Cell 14: G206 (Envoy w/ Electric Shift 4WD)


Object Number: 491152  Size: FS
Power and Grounding Components
Cell 14: G205 and G206 (Utility w/ NP1, Except Envoy)
Cell 14: G206 (Utility w/ Auto 4WD, Except Envoy)
Figure 27:

Cell 14: G206 (Utility w/ Auto 4WD, Except Envoy)


Object Number: 491153  Size: FS
Power and Grounding Components
Cell 14: G202 (Pickup)
Cell 14: G206 (Envoy w/ Electric Shift 4WD)
Figure 28:

Cell 14: G202 (Pickup)


Object Number: 355460  Size: FS
Power and Grounding Components
Cell 14: Inside Rear View Mirror and S302 (Utility Except Bravada/Envoy)
Cell 14: G206 (Utility w/ Auto 4WD, Except Envoy)
Figure 29:

Cell 14: Inside Rear View Mirror and S302 (Utility Except Bravada/Envoy)


Object Number: 355464  Size: FS
Power and Grounding Components
Cell 14: Driver Information Display Module and S302 (Utility w/o Sunroof Except Bravada/Envoy)
Cell 14: G202 (Pickup)
Cell 14: G202 (Utility Except Bravada/Envoy)
Figure 30:

Cell 14: Driver Information Display Module and S302 (Utility w/o Sunroof Except Bravada/Envoy)


Object Number: 355467  Size: FS
Power and Grounding Components
Cell 14: Driver Information Display Module and S302 (Utility w/ Sunroof Except Bravada/Envoy)
Cell 14: Inside Rear View Mirror and S302 (Utility Except Bravada/Envoy)
Handling ESD Sensitive Parts Notice
Handling ESD Sensitive Parts Notice
Cell 14: G202 (Utility Except Bravada/Envoy)
Figure 31:

Cell 14: Driver Information Display Module and S302 (Utility w/ Sunroof Except Bravada/Envoy)


Object Number: 355470  Size: FS
Power and Grounding Components
Cell 14: G202 (Utility Except Bravada/Envoy)
Cell 14: Driver Information Display Module and S302 (Utility w/o Sunroof Except Bravada/Envoy)
Handling ESD Sensitive Parts Notice
Handling ESD Sensitive Parts Notice
Handling ESD Sensitive Parts Notice
Cell 14: G202 (Utility Except Bravada/Envoy)
Figure 32:

Cell 14: G202 (Utility Except Bravada/Envoy)


Object Number: 355474  Size: FS
Power and Grounding Components
Cell 14: Driver Information Display Module and S302 (Bravada/Envoy)
Cell 14: Driver Information Display Module and S302 (Utility w/ Sunroof Except Bravada/Envoy)
Cell 14: Inside Rear View Mirror and S302 (Utility Except Bravada/Envoy)
Cell 14: Driver Information Display Module and S302 (Utility w/o Sunroof Except Bravada/Envoy)
Cell 14: Driver Information Display Module and S302 (Utility w/ Sunroof Except Bravada/Envoy)
Figure 33:

Cell 14: Driver Information Display Module and S302 (Bravada/Envoy)


Object Number: 355477  Size: FS
Power and Grounding Components
Cell 14: Driver Information Display Module and S302 (Bravada/Envoy)
Cell 14: G202 (Utility Except Bravada/Envoy)
Handling ESD Sensitive Parts Notice
Handling ESD Sensitive Parts Notice
Cell 14: G202 - LH Door Grounding (Bravada)
Cell 14: G202 - LH Door Grounding (Envoy)
Figure 34:

Cell 14: Driver Information Display Module and S302 (Bravada/Envoy)


Object Number: 355481  Size: FS
Power and Grounding Components
Cell 14: G202 - LH Door Grounding (Bravada)
Cell 14: Driver Information Display Module and S302 (Bravada/Envoy)
Handling ESD Sensitive Parts Notice
Handling ESD Sensitive Parts Notice
Handling ESD Sensitive Parts Notice
Cell 14: G202 - LH Door Grounding (Bravada)
Cell 14: G202 - LH Door Grounding (Envoy)
Figure 35:

Cell 14: G202 - LH Door Grounding (Bravada)


Object Number: 355487  Size: FS
Power and Grounding Components
Cell 14: G202 - LH Door Grounding (Envoy)
Cell 14: Driver Information Display Module and S302 (Bravada/Envoy)
Cell 14: Driver Information Display Module and S302 (Bravada/Envoy)
Cell 14: Driver Information Display Module and S302 (Bravada/Envoy)
Figure 36:

Cell 14: G202 - LH Door Grounding (Envoy)


Object Number: 355489  Size: FS
Power and Grounding Components
Cell 14: G207 (Pickup)
Cell 14: G202 - LH Door Grounding (Bravada)
Cell 14: Driver Information Display Module and S302 (Bravada/Envoy)
Cell 14: Driver Information Display Module and S302 (Bravada/Envoy)
Figure 37:

Cell 14: G207 (Pickup)


Object Number: 355493  Size: FS
Power and Grounding Components
Cell 14: G207 (Utility Except Envoy)
Cell 14: G202 - LH Door Grounding (Envoy)
Figure 38:

Cell 14: G207 (Utility Except Envoy)


Object Number: 355494  Size: FS
Power and Grounding Components
Cell 14: G200 and G201 (Pickup)
Cell 14: G207 (Pickup)
Figure 39:

Cell 14: G200 and G201 (Pickup)


Object Number: 355498  Size: FS
Power and Grounding Components
Cell 14: BBEC and S335 (Utility Except Envoy)
Cell 14: G207 (Utility Except Envoy)
Figure 40:

Cell 14: BBEC and S335 (Utility Except Envoy)


Object Number: 355501  Size: FS
Power and Grounding Components
Cell 14: G200 and G201 (Utility Except Envoy)
Cell 14: G200 and G201 (Pickup)
Cell 14: G200 and G201 (Utility Except Envoy)
Figure 41:

Cell 14: G200 and G201 (Utility Except Envoy)


Object Number: 355503  Size: FS
Power and Grounding Components
Cell 14: BBEC and S335 (Envoy)
Cell 14: BBEC and S335 (Utility Except Envoy)
Cell 14: BBEC and S335 (Utility Except Envoy)
Figure 42:

Cell 14: BBEC and S335 (Envoy)


Object Number: 355506  Size: FS
Power and Grounding Components
Cell 14: G200 and G201 (Envoy)
Cell 14: G200 and G201 (Utility Except Envoy)
Cell 14: G200 and G201 (Envoy)
Figure 43:

Cell 14: G200 and G201 (Envoy)


Object Number: 355509  Size: FS
Power and Grounding Components
Cell 14: G470 (Envoy)
Cell 14: BBEC and S335 (Envoy)
Cell 14: BBEC and S335 (Envoy)
Handling ESD Sensitive Parts Notice
Figure 44:

Cell 14: G470 (Envoy)


Object Number: 355512  Size: FS
Power and Grounding Components
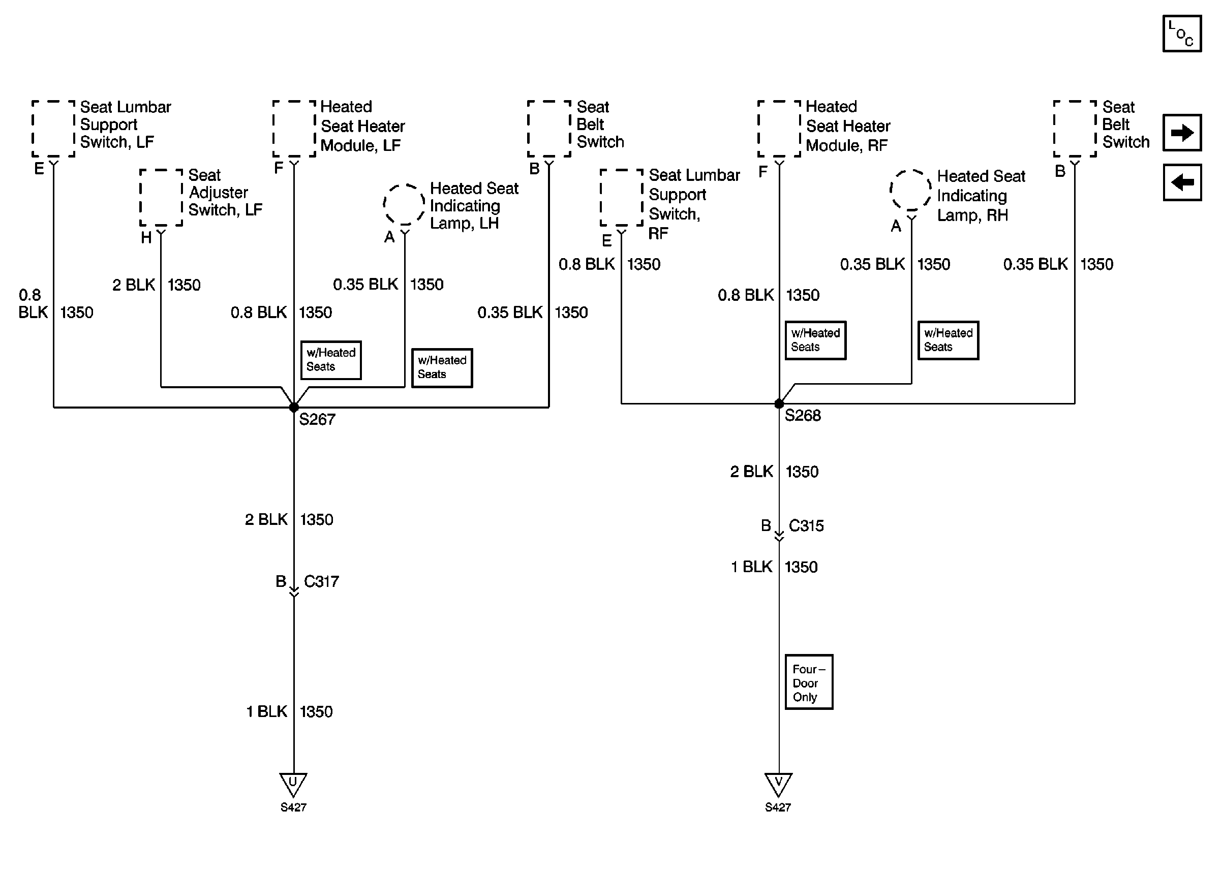
Cell 14: S267 and S268 (Utility w/ Endgate)
Cell 14: G200 and G201 (Envoy)
Figure 45:

Cell 14: S267 and S268 (Utility w/ Endgate)


Object Number: 355518  Size: FS
Power and Grounding Components
Cell 14: S419 and S420 (Utility w/ Endgate)
Cell 14: G470 (Envoy)
Cell 14: G420 and G450 (Utility w/ Endgate)
Cell 14: G420 and G450 (Utility w/ Endgate)
Figure 46:

Cell 14: S419 and S420 (Utility w/ Endgate)


Object Number: 355522  Size: FS
Power and Grounding Components
Cell 14: G420 and G450 (Utility w/ Endgate)
Cell 14: S267 and S268 (Utility w/ Endgate)
Cell 14: G420 and G450 (Utility w/ Endgate)
Cell 14: G420 and G450 (Utility w/ Endgate)
Figure 47:

Cell 14: G420 and G450 (Utility w/ Endgate)


Object Number: 355525  Size: FS
Power and Grounding Components
Cell 14: S419 and S420 (Utility w/ Liftgate)
Cell 14: S419 and S420 (Utility w/ Endgate)
Cell 14: S267 and S268 (Utility w/ Endgate)
Cell 14: S267 and S268 (Utility w/ Endgate)
Cell 14: S419 and S420 (Utility w/ Endgate)
Cell 14: S419 and S420 (Utility w/ Endgate)
Figure 48:

Cell 14: S419 and S420 (Utility w/ Liftgate)


Object Number: 355528  Size: FS
Power and Grounding Components
Cell 14: S267 and S268 (Utility w/ Liftgate)
Cell 14: G420 and G450 (Utility w/ Endgate)
Cell 14: G420 and G450 (Utility w/ Liftgate)
Cell 14: G420 and G450 (Utility w/ Liftgate)
Figure 49:

Cell 14: S267 and S268 (Utility w/ Liftgate)


Object Number: 355530  Size: FS
Power and Grounding Components
Cell 14: G420 and G450 (Utility w/ Liftgate)
Cell 14: S419 and S420 (Utility w/ Liftgate)
Cell 14: G420 and G450 (Utility w/ Liftgate)
Cell 14: G420 and G450 (Utility w/ Liftgate)
Figure 50:

Cell 14: G420 and G450 (Utility w/ Liftgate)


Object Number: 355536  Size: FS
Power and Grounding Components
Cell 14: G402, G422, and G475 (Fleetside Pickup)
Cell 14: S267 and S268 (Utility w/ Liftgate)
Cell 14: S267 and S268 (Utility w/ Liftgate)
Cell 14: S267 and S268 (Utility w/ Liftgate)
Cell 14: S419 and S420 (Utility w/ Liftgate)
Cell 14: S419 and S420 (Utility w/ Liftgate)
Figure 51:

Cell 14: G402, G422, and G475 (Fleetside Pickup)


Object Number: 355539  Size: FS
Power and Grounding Components
Cell 14: G402, G422, and G475 (Sportside Pickup)
Cell 14: G420 and G450 (Utility w/ Liftgate)
Figure 52:

Cell 14: G402, G422, and G475 (Sportside Pickup)


Object Number: 355544  Size: FS
Power and Grounding Components
Cell 14: G402
Cell 14: G402, G422, and G475 (Fleetside Pickup)
Figure 53:

Cell 14: G402


Object Number: 355548  Size: FS
Power and Grounding Components
Cell 14: G402, G422, and G475 (Sportside Pickup)