GM Service Manual Online
For 1990-2009 cars only

Object Number: 622972  Size: MF
Handling ESD Sensitive Parts Notice
Engine Controls Components
Ignition Controls
OBD II Symbol Description Notice
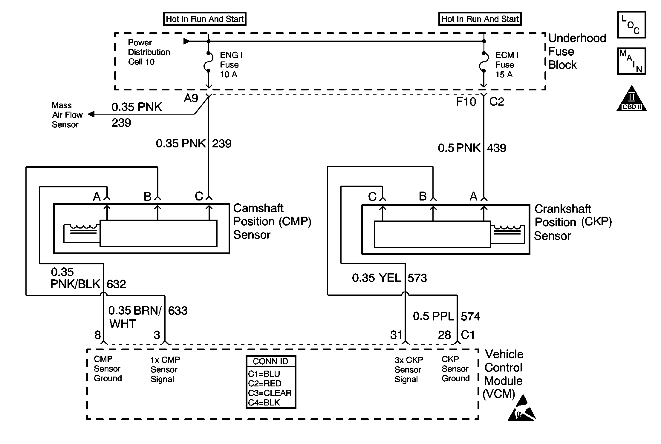
Powertrain Control Module Connector End Views
Power Distribution Schematics

Circuit Description

This diagnostic trouble code (DTC) monitors the crankshaft position (CKP) and the camshaft position (CMP) signals to determine if they are synchronized. If both signals are not observed by the control module within a narrow time window, the vehicle control module (VCM) will determine that an error has occurred.

Conditions for Running the DTC

The engine is running.

Conditions for Setting the DTC

When the engine is running, the cam sensor reference pulse is not detected at the correct position relative to the crankshaft position sensor pulse.

Action Taken When the DTC Sets

    • The control module illuminates the malfunction indicator lamp (MIL) if a failure is detected during 2 consecutive key cycles.
    • The control module sets the DTC and records the operating conditions at the time the diagnostic failed. The failure information is stored in the scan tool Freeze Frame/Failure Records.

Conditions for Clearing the MIL or DTC

    • The control module turns OFF the MIL after 3 consecutive drive trips when the test has run and passed.
    • A history DTC will clear if no fault conditions have been detected for 40 warm-up cycles. A warm-up cycle occurs when the coolant temperature has risen 22°C (40°F) from the startup coolant temperature and the engine coolant reaches a temperature that is more than 70°C (158°F) during the same ignition cycle.
    • Use a scan tool in order to clear the DTCs.

Diagnostic Aids

Check the following items:

    • A loose CMP sensor causing a variance in the sensor signal.
    • Excessive free play in the timing chain and gear assembly.
    • Incorrectly installed distributor -- 1 tooth off in either advance or retard positions.
    • A loose distributor rotor on the distributor shaft.
    • A loose or missing distributor hold down bolt.

An intermittent may be caused by any of the following conditions:

    • A poor connection
    • Rubbed through wire insulation
    • A broken wire inside the insulation

Thoroughly inspect any circuitry that is suspected of causing the intermittent complaint. Refer to Testing for Intermittent Conditions and Poor Connections in Wiring Systems.

If a repair is necessary, refer to Wiring Repairs or Connector Repairs in Wiring Systems.

Test Description

The numbers below refer to the step numbers on the table.

  1. This test will determine if this DTC is intermittent.

  2. If there is a variance in the camshaft sensor signal it will be detected in this step.

  3. Unintentional damage to the distributor shaft may result if excessive pressure is used to rotate the distributor.

Step

Action

Values

Yes

No

1

Did you perform the Powertrain On-Board Diagnostic (OBD) System Check?

--

Go to Step 2

Go to Powertrain On Board Diagnostic (OBD) System Check

2

  1. Install the scan tool.
  2. Start the engine.
  3. Monitor the engine speed with a scan tool.

Does the engine speed fluctuate (up to twice the desired RPM)?

--

Go to Step 3

Go to Step 4

3

Replace the crankshaft position sensor. Refer to Crankshaft Position Sensor Replacement .

Is the action complete?

--

Go to Step 9

--

4

Perform the Camshaft Retard Offset test procedure as follows:

  1. Install the scan tool.
  2. Start the engine.
  3. Important: The camshaft retard reading is not accurate below 1000 RPM.

  4. Raise the engine speed to the first specified value.
  5. Monitor the camshaft retard with the scan tool.

Is the camshaft retard reading within the second specified value?

1000 RPM

-5 to -17°

Go to Step 5

Go to Step 6

5

  1. Note the camshaft retard reading from the previous step.
  2. Raise the engine speed to the first specified value.

Does the camshaft retard reading change more than the second specified value?

2000 RPM

Go to Step 6

Go to Diagnostic Aids

6

With the engine OFF and at operating temperature perform the following procedure:

  1. Remove the distributor cap.
  2. Grasp the distributor rotor and gently attempt to rotate the rotor.

Does the rotor turn on the distributor shaft?

--

Go to Step 8

Go to Step 7

7

  1. Check for proper installation of the distributor. Refer to Distributor Installation in Engine Mechanical.
  2. Repair as necessary.

Did you find a problem?

--

Go to Step 9

Go to Diagnostic Aids

8

Replace the distributor. Refer to Distributor Replacement in Engine Electrical.

Is the action complete?

--

Go to Step 9

--

9

  1. Use the scan tool in order to Clear the DTCs.
  2. Start the engine.
  3. Allow the engine to idle until the engine reaches normal operating temperature.
  4. Select DTC and the Specific DTC function.
  5. Enter the DTC number which was set.
  6. Operate the vehicle within the Conditions for Setting this DTC, until the scan tool indicates that the diagnostic Ran.

Does the scan tool indicate that the diagnostic Passed?

--

Go to Step 10

Go to Step 2

10

Does the scan tool display any additional undiagnosed DTCs?

--

Go to applicable DTC

System OK