GM Service Manual Online
For 1990-2009 cars only
Makes
🢒
GMC_Truck
🢒
2002
🢒
GMC C Sierra - 2WD
🢒
Body and Accessories
🢒
Wiring Systems
🢒 HVAC Schematics
Figure
1:
Blower Controls
Ignition, Run, Accessory, and RAP Bus Bars - RAP#1 and RAP#2 Fuses
AIR, RTD, RADIO, RDO AMP, ECM B, FRT HVAC, and CIGAR Fuses
AIR, RTD, RADIO, RDO AMP, ECM B, FRT HVAC, and CIGAR Fuses
AIR, RTD, RADIO, RDO AMP, ECM B, FRT HVAC, and CIGAR Fuses
Master Electrical Component List
Air Delivery Description and Operation
Compressor Controls
Splice Pack SP205
G200
Figure
2:
Compressor Controls
G104 - Gas
G106 - Diesel
B+ Bus Bar
Ignition, Run, and Start Bus Bar
Master Electrical Component List
Air Temperature Description and Operation
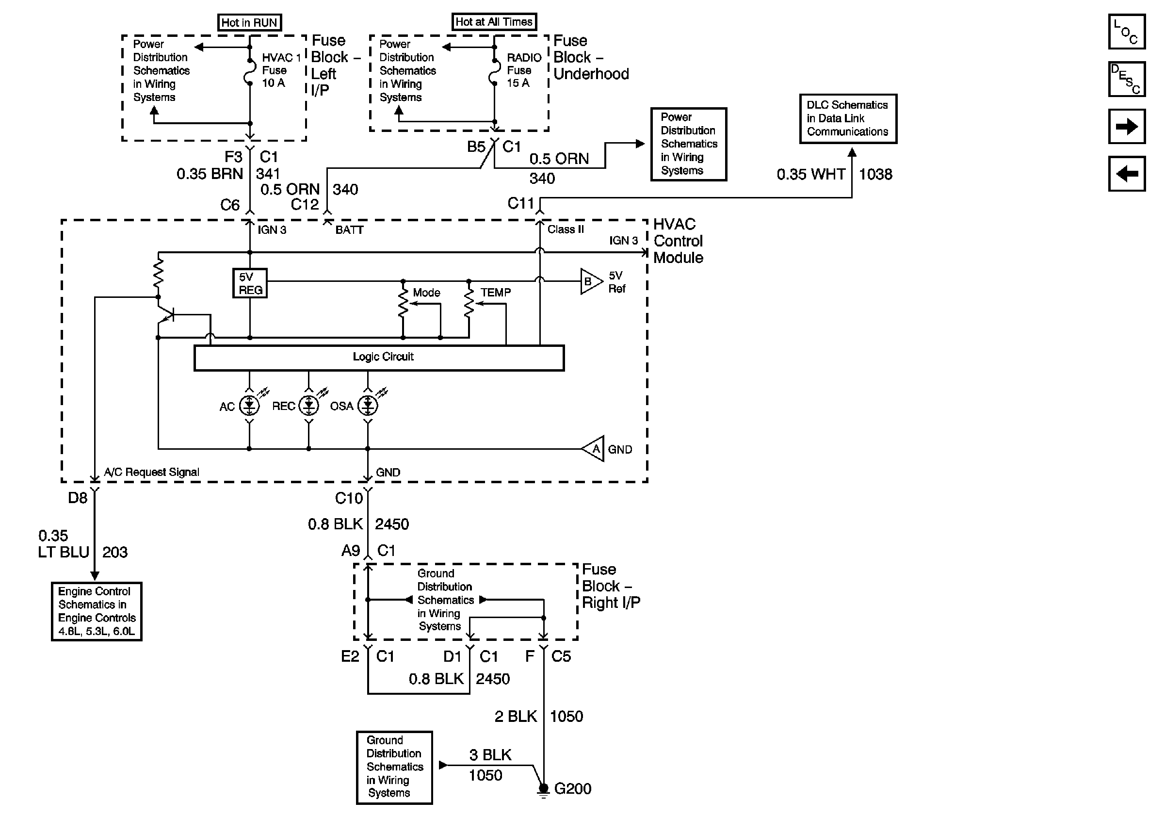
Air Delivery Controls-HVAC Control Assembly Power, Ground and Serial Data
Blower Controls
G100 and G110
Figure
3:
Air Delivery Controls-HVAC Control Assembly Power, Ground and Serial Data
Ignition, Run, Accessory, and RAP Bus Bars - RAP#1 and RAP#2 Fuses
AIR, RTD, RADIO, RDO AMP, ECM B, FRT HVAC, and CIGAR Fuses
AIR, RTD, RADIO, RDO AMP, ECM B, FRT HVAC, and CIGAR Fuses
Air Delivery Controls - Actuators
Air Delivery Controls - Actuators
G200
Compressor Controls
G200
Master Electrical Component List
Air Delivery Description and Operation
Air Delivery Controls - Actuators
Compressor Controls
Figure
4:
Air Delivery Controls - Actuators
Ignition, Run, Accessory, and RAP Bus Bars - RAP#1 and RAP#2 Fuses
Air Delivery Controls-HVAC Control Assembly Power, Ground and Serial Data
Master Electrical Component List
Air Delivery Description and Operation
Air Delivery Controls - Sensors
Air Delivery Controls-HVAC Control Assembly Power, Ground and Serial Data
Figure
5:
Air Delivery Controls - Sensors
IGN 1, TURN, SEO IGN, AIR BAG, CRANK, and IGN 0 Fuses
AUX PWR and HORN Fuses
G203 - 2 of 3 - Uplevel and Crew Cab
G203 - 1 of 3
AUX PWR and HORN Fuses
Master Electrical Component List
Air Temperature Description and Operation
Air Delivery Controls - Actuators