GM Service Manual Online
For 1990-2009 cars only

Special Tools

    • DT 8390270 Slide Hammer
    • EN 41818 Crankshaft Bearing Cap Remover

For equivalent regional tools, refer to Special Tools.

Crankshaft End Play Measurement

  1. Place a dial indicator at the crankshaft nose.
  2. Gently force the crankshaft to the extreme front and rear positions with a pry tool while monitoring the movement of the dial indicator.
  3. The crankshaft end play should not exceed specifications. Refer to Engine Mechanical Specifications.
  4. If the specifications are exceeded inspect the thrust bearing thrust OD and the crankshaft thrust wall for wear and/or excessive runout. Refer to Engine Mechanical Specifications.
  5. Replace the thrust bearing or crankshaft as necessary.

Crankshaft Removal


    Object Number: 2026695  Size: SH
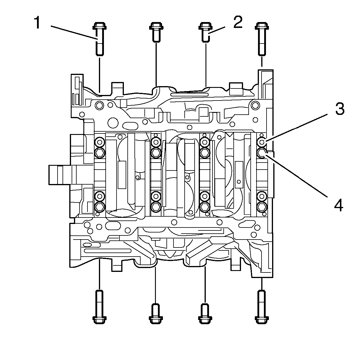
  1. Remove the 8 crankshaft bearing cap side bolts (1, 2).
  2. Remove the 8 crankshaft bearing cap outer bolts (3).
  3. Remove the 8 crankshaft bearing cap inner bolts (4).

  4. Object Number: 1905889  Size: SH
  5. Remove the crankshaft bearing caps using the DT 8390270 slide hammer  (1) and EN 41818 remover  (2).

  6. Object Number: 1866875  Size: SH
  7. Using 2 hands, lift the crankshaft straight up from the engine block.
  8. Place the crankshaft in a secure place.

  9. Object Number: 1864436  Size: SH
  10. Remove the crankshaft key from the nose of the crankshaft.

Crankshaft Bearing Removal

  1. Prepare a piece of cardboard or equivalent, numbered 1-4 for bearing identification. Main bearing journals are numbered from the front of the engine.

  2. Object Number: 1313745  Size: SH
  3. Remove the crankshaft upper bearing halves from the cylinder block. Note the position of the thrust bearing (1) at the number 3 journal (2).
  4. Place the crankshaft upper bearing halves on the cardboard in the correct positions. Note that the number 3 bearing is the thrust bearing.

  5. Object Number: 902744  Size: SH
  6. Remove the crankshaft lower bearing halves from the crankshaft bearing caps.
  7. Place the crankshaft lower bearing halves in the correct positions on the cardboard.