GM Service Manual Online
For 1990-2009 cars only
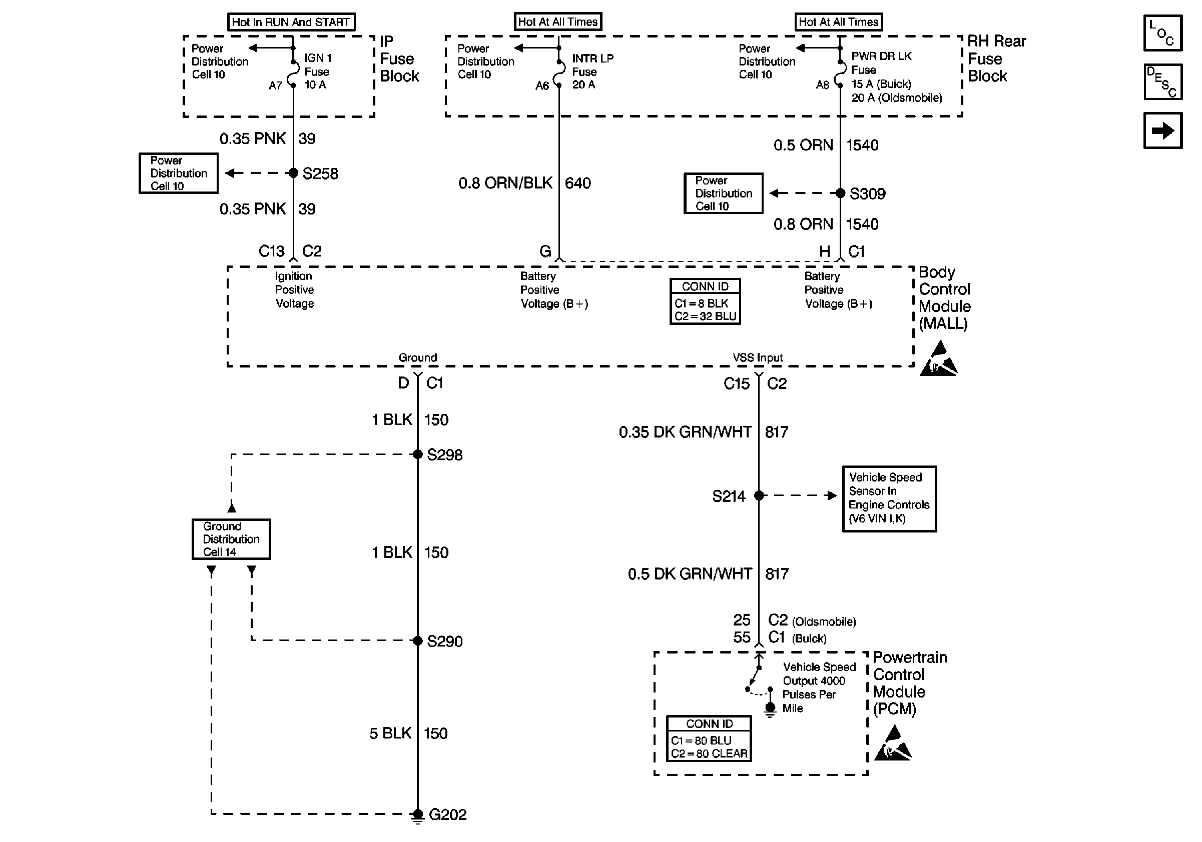
Figure 1:

Cell 51: Power, Ground and Vehicle Speed Input


Object Number: 531701  Size: FS
Body Control Module Components
Body Control Module Diagnostic Information
Cell 51: Audible Warning Circuits
Power Distribution Schematics
Cell 10: F/PMP Fuse, HZRD/STOP Fuse, and INTR LP Fuse
Cell 10: PWR DR LK Fuse and BATT THER Fuse
Cell 10: PWR DR LK Fuse and BATT THER Fuse
Ground Distribution Schematics
Engine Controls Schematics
Handling ESD Sensitive Parts Notice
Handling ESD Sensitive Parts Notice
Figure 2:

Cell 51: Audible Warning Circuits


Object Number: 469946  Size: FS
Body Control Module Components
Body Control Module Diagnostic Information
Cell 51: Power Door Lock Circuits
Cell 51: Power, Ground and Vehicle Speed Input
Audible Warnings Schematics
Audible Warnings Schematics
Handling ESD Sensitive Parts Notice
Figure 3:

Cell 51: Power Door Lock Circuits


Object Number: 469949  Size: FS
Body Control Module Components
Body Control Module Diagnostic Information
Cell 51: Interior Lamp Circuits
Cell 51: Audible Warning Circuits
Door Lock/Indicator Schematics
Door Lock/Indicator Schematics
Handling ESD Sensitive Parts Notice
Figure 4:

Cell 51: Interior Lamp Circuits


Object Number: 469965  Size: FS
Body Control Module Components
Body Control Module Diagnostic Information
Cell 51: Power Door Lock Circuits
Interior Lights Schematics Buick
Interior Lights Schematics Oldsmobile
Interior Lights Schematics Buick
Interior Lights Schematics Oldsmobile
Handling ESD Sensitive Parts Notice